| *62920 | INSULATION |
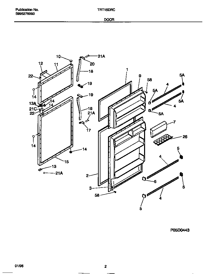
| 1 | GASKET-FRZR DOOR, ALMOND, MAGNETIC |
| 2 | 218730603 Frigidaire Door Gasket |
| 3 | WCI 218359001 |
| 4 | 215366002 Frigidaire Refrigerator Door Wide Rack |
| 5 | 215473602 Frigidaire Refrigerator White Left or Right Door Shelf End Cap |
| 5 | 215267701 Frigidaire Refrigerator White Door Shelf Endcap Left or Right |
| 7 | WCI 218287815 |
| 9 | WCI 218358801 |
| 10 | PLUG-BUTTON, ALMOND, HINGE BRG HOLE |
| 11 | WCI 5303917685 |
| 12 | WCI 218531502 |
| 12 | WCI 215366311 |
| 13 | DOOR STOP, REFR SECTION |
| 13 | WCI 218249002 |
| 14 | PLUG-BUTTON, ALMOND, HANDLE/DR STOP |
| 15 | WCI 5303917655 |
| 17 | HANDLE END |
| 18 | WCI 5303015111 |
| 18 | INSERT-HANDLE GRIP, ALMOND (NOT ILLUSTRATED) |
| 19 | WCI 215365000 |
| 20 | HANDLE END |
| 21 | SCREW, NO. 8 OVAL HEAD, 10-32 (CA) X 5/8, CROSS RECESSED |
| 21 | 218252201 Frigidaire Refrigerator Screw |
| 22 | BEARING-HINGE |
| 26 | 215817806 Frigidaire Refrigerator Egg Tray |
| 58 | 216858001 Frigidaire Refrigerator Screw |