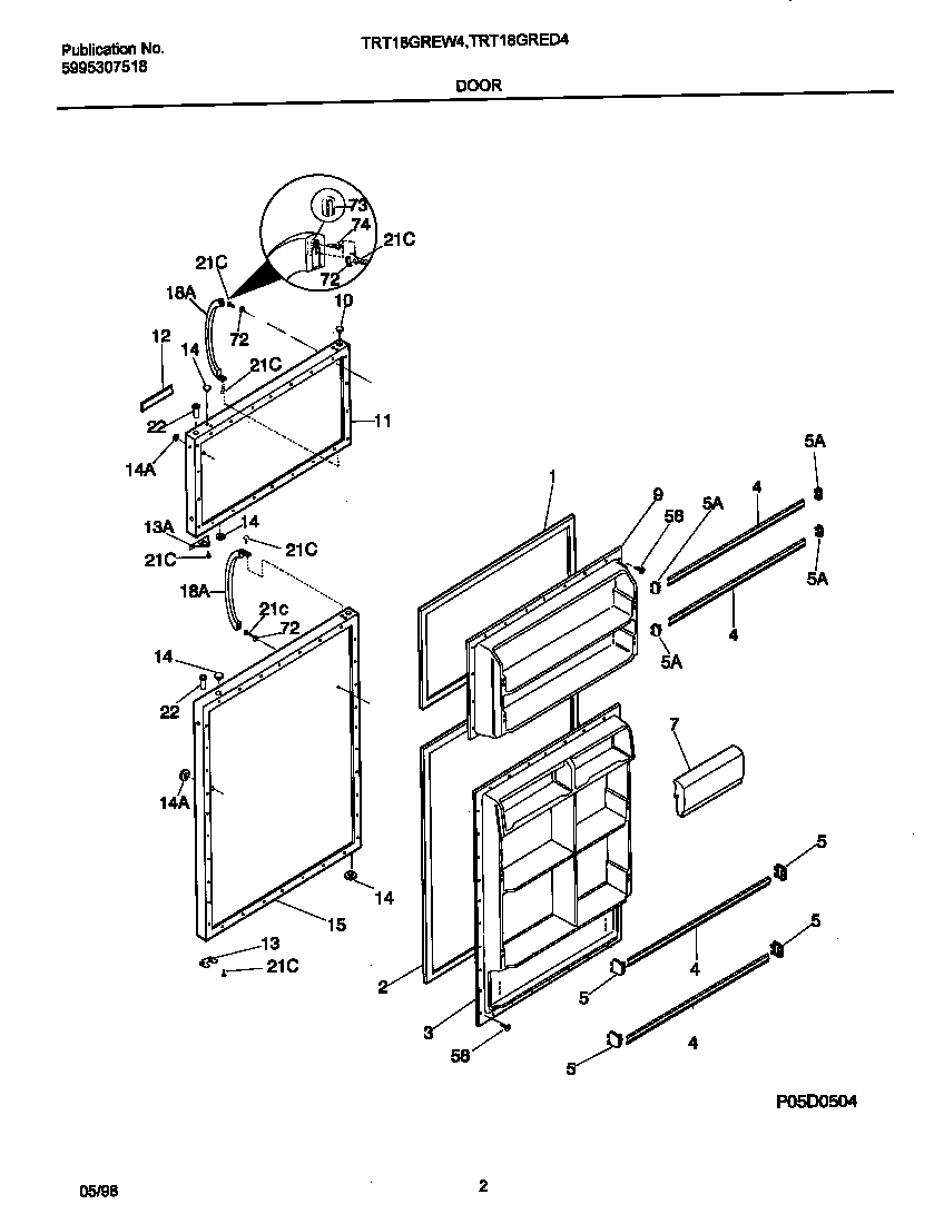
TRT18GRED4 02 – DOORS