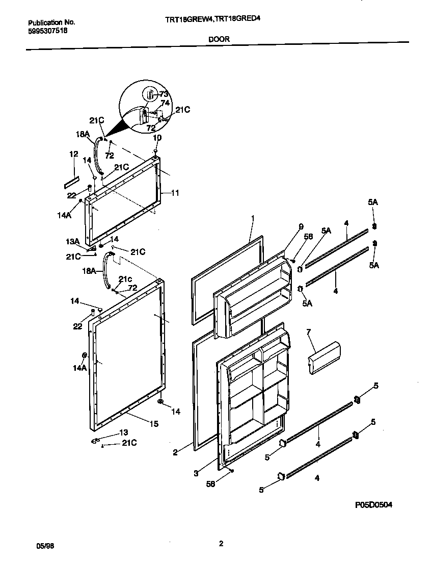
TRT18GREW4 02 – DOORS