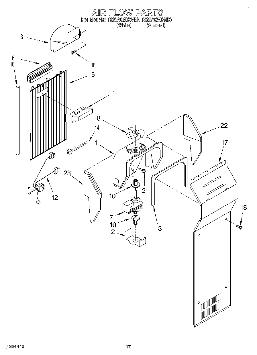
TS22AQXDN00 10 – AIRFLOW