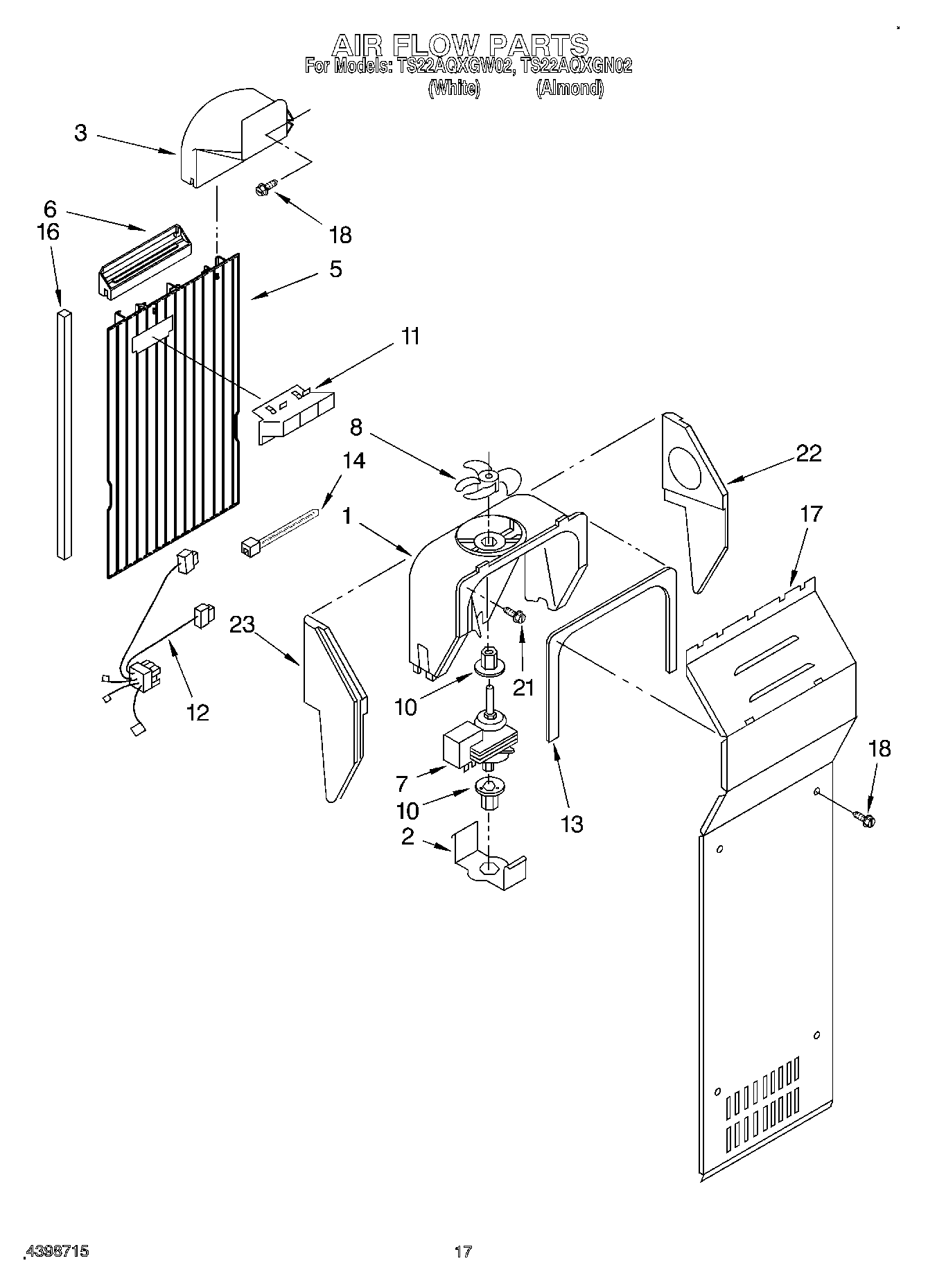
TS22AQXGN02 10 – AIR FLOWadmin2025-04-26T12:26:49+00:00TS22AQXGN02 10 – AIR FLOW ProductsPositionProduct1W11254898 Whirlpool Refrigerator Scroll Fan2WP2155590 Whirlpool Refrigerator Retainer3Air Scoop54388357 Whirlpool Refrigerator Evaporator Cover6Diffuser, Air Duct74389144 Whirlpool Refrigerator Evaporator Fan Motor8WP2169142 Whirlpool Fan Blade10WP2176759 Whirlpool Refrigerator Grommet112182146 Whirlpool Refrigerator Duct12Harness, Fan Evaporator, And Heater, Bi-Metal13WP2155789 Whirlpool Refrigerator Gasket14WPW10339879 Whirlpool Wire Tie164388500 Whirlpool Refrigerator Gasket18SCREW21WP489478 Whirlpool Refrigerator Screw224388358 Whirlpool Refrigerator Support Bracket