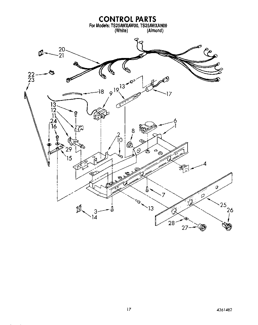
TS25AWXAN00 11 – CONTROL