| *55767 | WCI G178282-01 |
| *55764 | WCI G141624-16 |
| *55766 | WCI G178293-01 |
| *55725 | WCI G169332-10 |
| *55730 | WCI G162977-10 |
| *55765 | WCI G162892-07 |
| *55763 | TRIM-SHELF |
| *55720 | WCI G172723-10 |
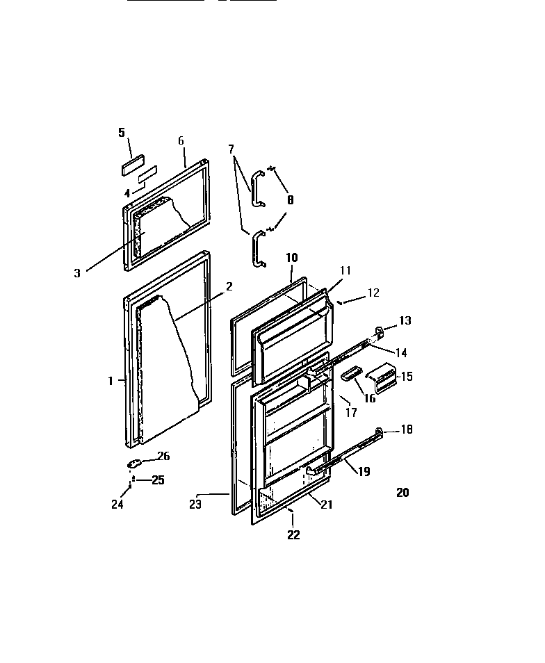
| 1 | PANEL-OUTER-COFE |
| 2 | INSULATION, LOWER EXTERIOR DOOR |
| 4 | WCI G162991-04 |
| 5 | NAMEPLATE FRAME |
| 6 | PANEL-OUTER-COFE |
| 7 | WCI G172612-03 |
| 8 | WCI G185566 |
| 10 | FC DOOR GASKET, MAGNETIC |
| 11 | PANEL-INNER FRZR |
| 14 | WCI G162939-28 |
| 15 | WCI G162713-05 |
| 16 | 5308000716 Frigidaire Refrigerator Dish |
| 17 | SUPPORT LS (3) |
| 18 | SUPPORT RS (3) |
| 19 | WCI G162939-29 |
| 20 | WCI G17884-01 |
| 21 | PANEL-INNER REFR. |
| 22 | 5304455651 Frigidaire Refrigerator Screw |
| 23 | PC DOOR GASKET, MAGNETIC |
| 24 | WCI G162889 |
| 25 | SCREW, STOP MOUNTING (2) |
| 26 | STOP, DOOR. PC & FC (2) |