| *44310 | WCI G172723-01 |
| *44307 | WCI G162892-07 |
| *44308 | WCI G169332-01 |
| *44293 | WCI G178293-01 |
| *44291 | WCI G178282-01 |
| *44292 | WCI G162991-29 |
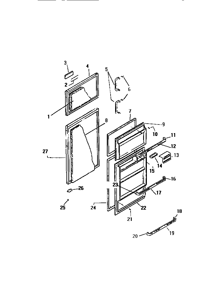
| 1 | INSULATION, UPPER EXT. DOOR PNL |
| 2 | WCI G162991-04 |
| 3 | WCI G178291 |
| 4 | WCI G186413 |
| 5 | WCI G172612-03 |
| 6 | SCREW HANDLE MTG (8) |
| 7 | WCI G180547-14 |
| 8 | WCI G185004 |
| 9 | WCI G185408-02 |
| 13 | WCI G178500-16 |
| 14 | 5308000716 Frigidaire Refrigerator Dish |
| 15 | WCI G18536 |
| 17 | FRONT RACK PC |
| 18 | SUPT, RACK, RH PC (2) |
| 19 | WCI G162939-35 |
| 21 | 5304455651 Frigidaire Refrigerator Screw |
| 22 | WCI G85409-02 |
| 23 | SUPT, RACK, LH PC (2) |
| 24 | PC DOOR GASKET, MAGNETIC |
| 26 | STOP, DOOR. PC & FC (2) |
| 27 | PANEL-OUTER-WHTE |