| 1 | WPW10222451 Whirlpool Refrigerator Support |
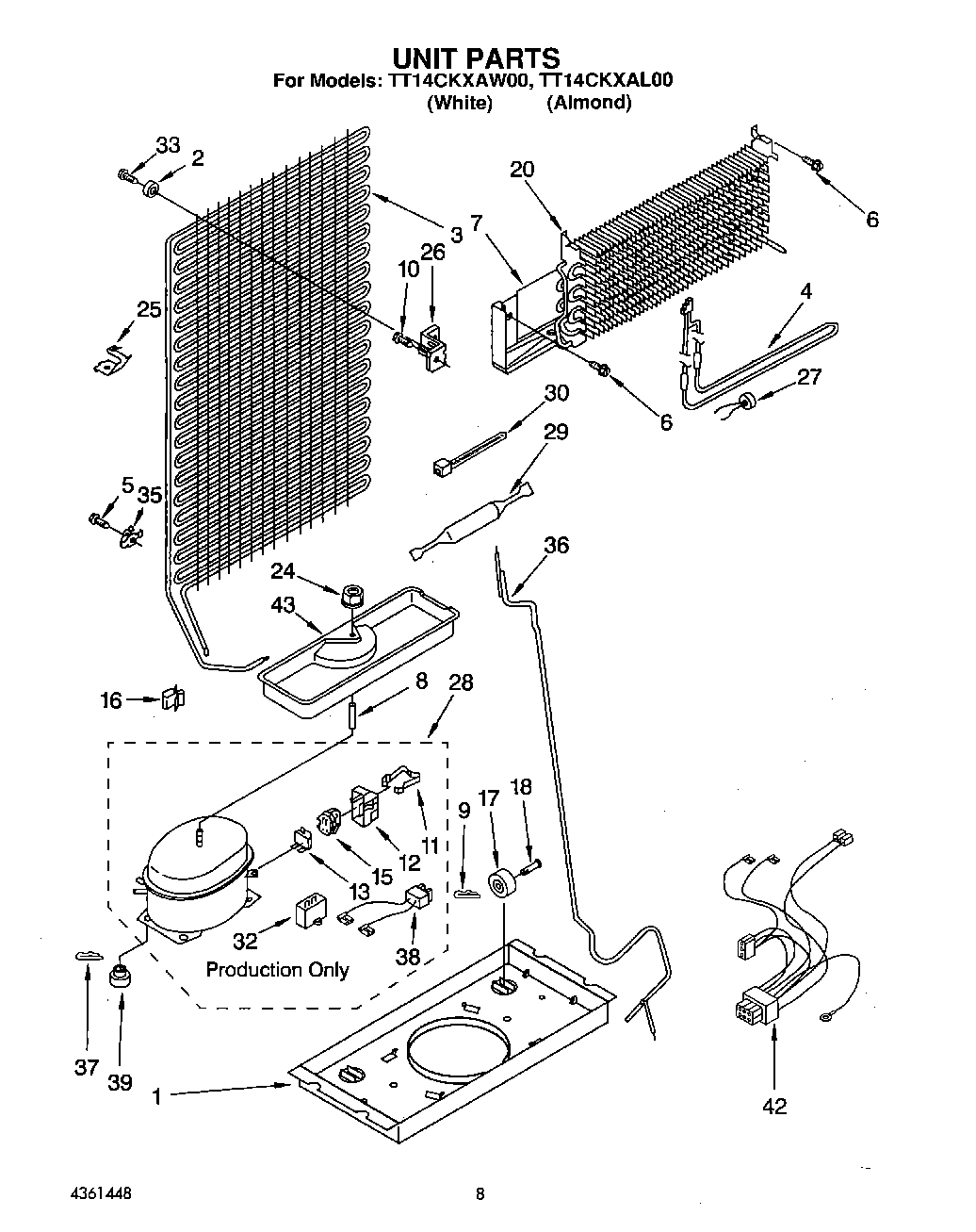
| 2 | Bumper |
| 3 | Condenser |
| 4 | WP2263749 Whirlpool Defrost Heater Assembly |
| 5 | WP965173 Whirlpool Dishwasher Screw |
| 7 | Heat Shield |
| 8 | Spacer |
| 9 | Clip-Pin |
| 10 | WP489478 Whirlpool Refrigerator Screw |
| 11 | Strap |
| 12 | Cover |
| 13 | Overload (Includes Relay) |
| 13 | Overload |
| 15 | Relay (See Overload) |
| 16 | W10812038 Whirlpool Refrigerator Clip |
| 17 | 4388239 Whirlpool Refrigerator Primary Cabinet Roller |
| 18 | Pin-Roller |
| 20 | WP2263919 Whirlpool Refrigerator Evaporator |
| 24 | 285002 Whirlpool Nut |
| 25 | 4386951 Whirlpool Refrigerator Clip |
| 26 | Bracket, Condenser |
| 27 | WP4387490 Whirlpool Refrigerator Bi-Metal Defrost Thermostat |
| 28 | 876765 Whirlpool Primary Mounting Kit Refrigerator |
| 28 | Compressor |
| 28 | Installation Kit |
| 29 | W10843121 Whirlpool Refrigerator Tube |
| 30 | Strap |
| 32 | WPW10662129 Whirlpool Refrigerator Run Capacitor |
| 33 | WP489174 Whirlpool Refrigerator Screw |
| 35 | Clip, Tube |
| 36 | Heat Exchanger |
| 37 | Clip, Compressor |
| 38 | WP2172890 Whirlpool Refrigerator Wire |
| 39 | 876811 Whirlpool Grommet |
| 39 | WP2163786 Whirlpool Refrigerator Grommet |
| 42 | Wire Assy. Unit |
| 43 | 978026 Whirlpool Refrigerator Primary Valve |
| 43 | Evaporator Tray |
| 43 | 876764 Whirlpool Refrigerator Primary Valve |
| 43 | 978027 Whirlpool Refrigerator Primary Valve |
| 43 | 978030 Whirlpool Refrigerator Valve |
| 43 | WP978025 Whirlpool Refrigerator Valve |
| 43 | VALVE, ACCESS (1/2``) |
| 43 | Start Kit |
| 43 | VALVE, ACCESS (5/8``) |