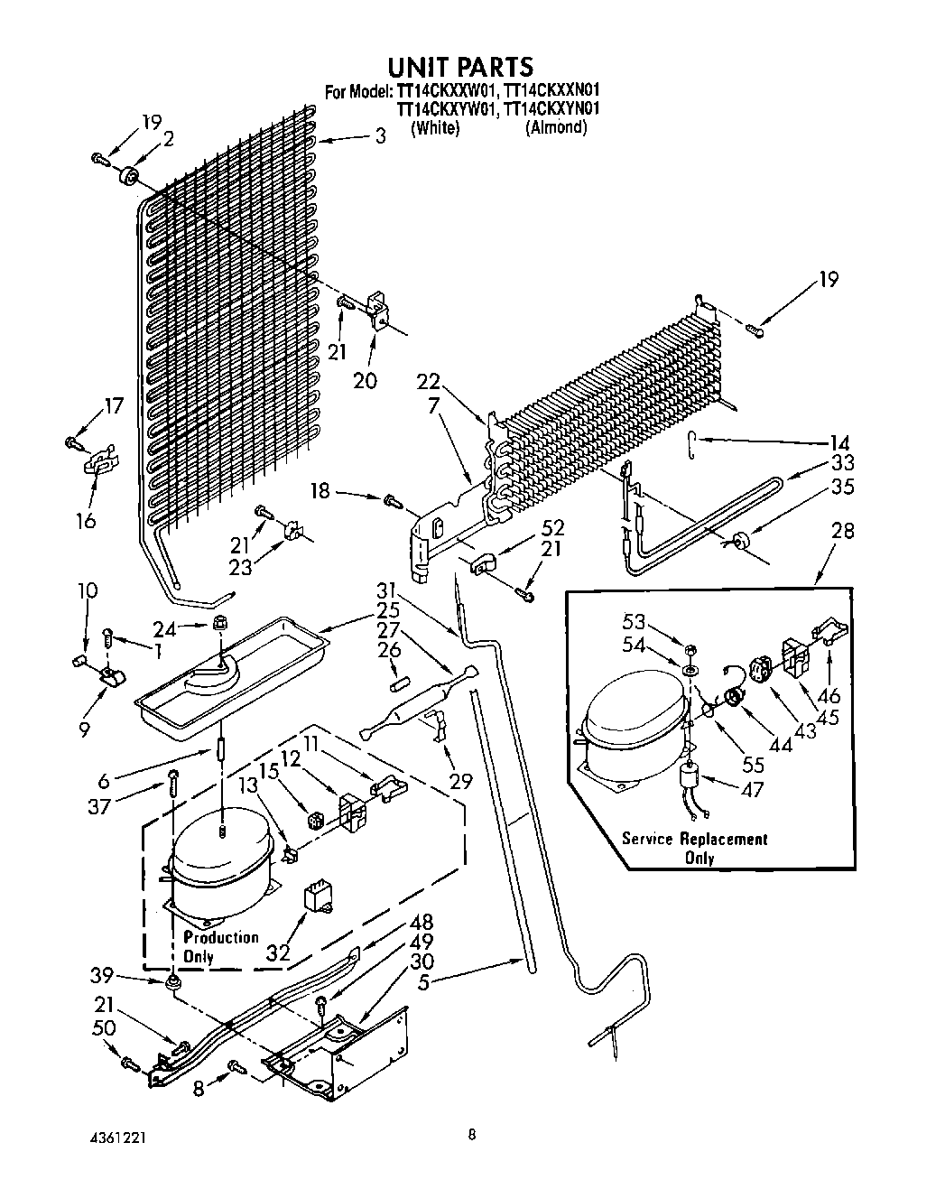
TT14CKXXW01 07 – UNIT