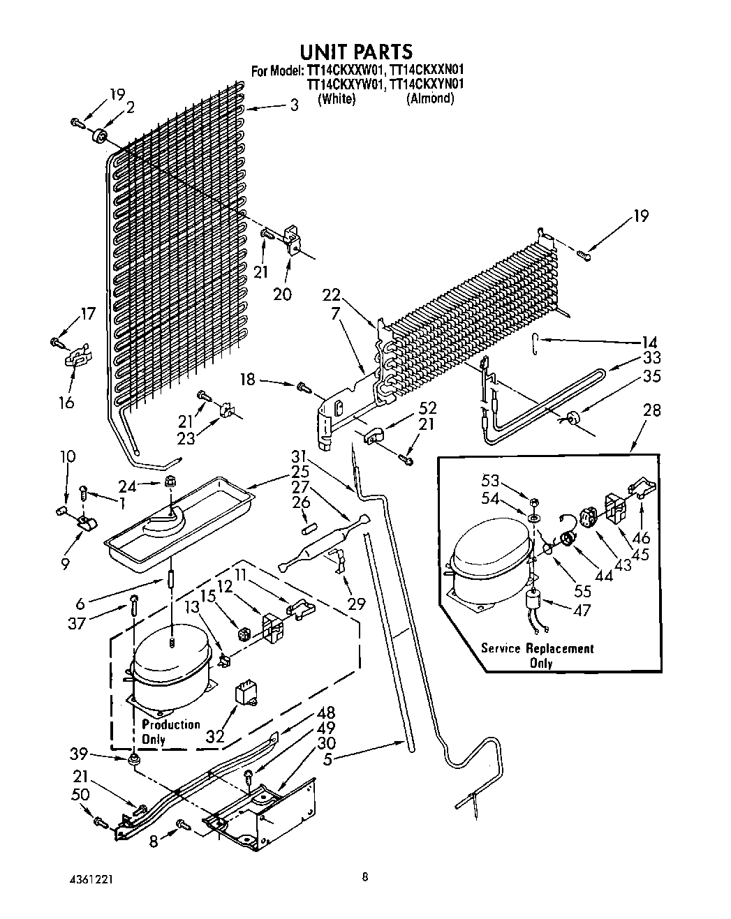
TT14CKYXN01 07 – UNIT