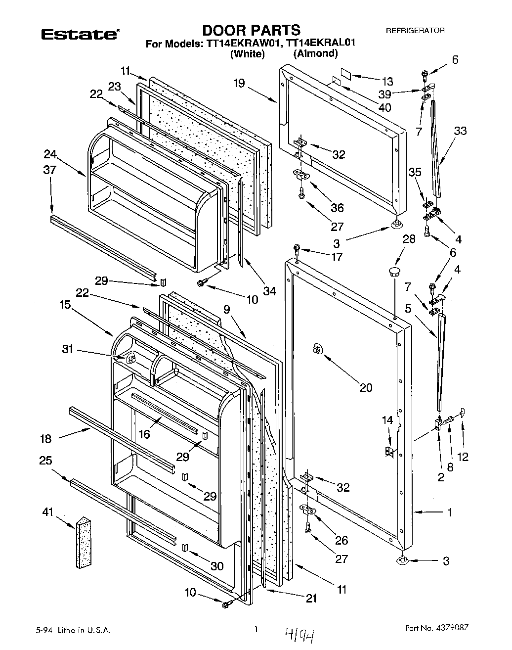
TT14EKRAN01 01 – DOOR