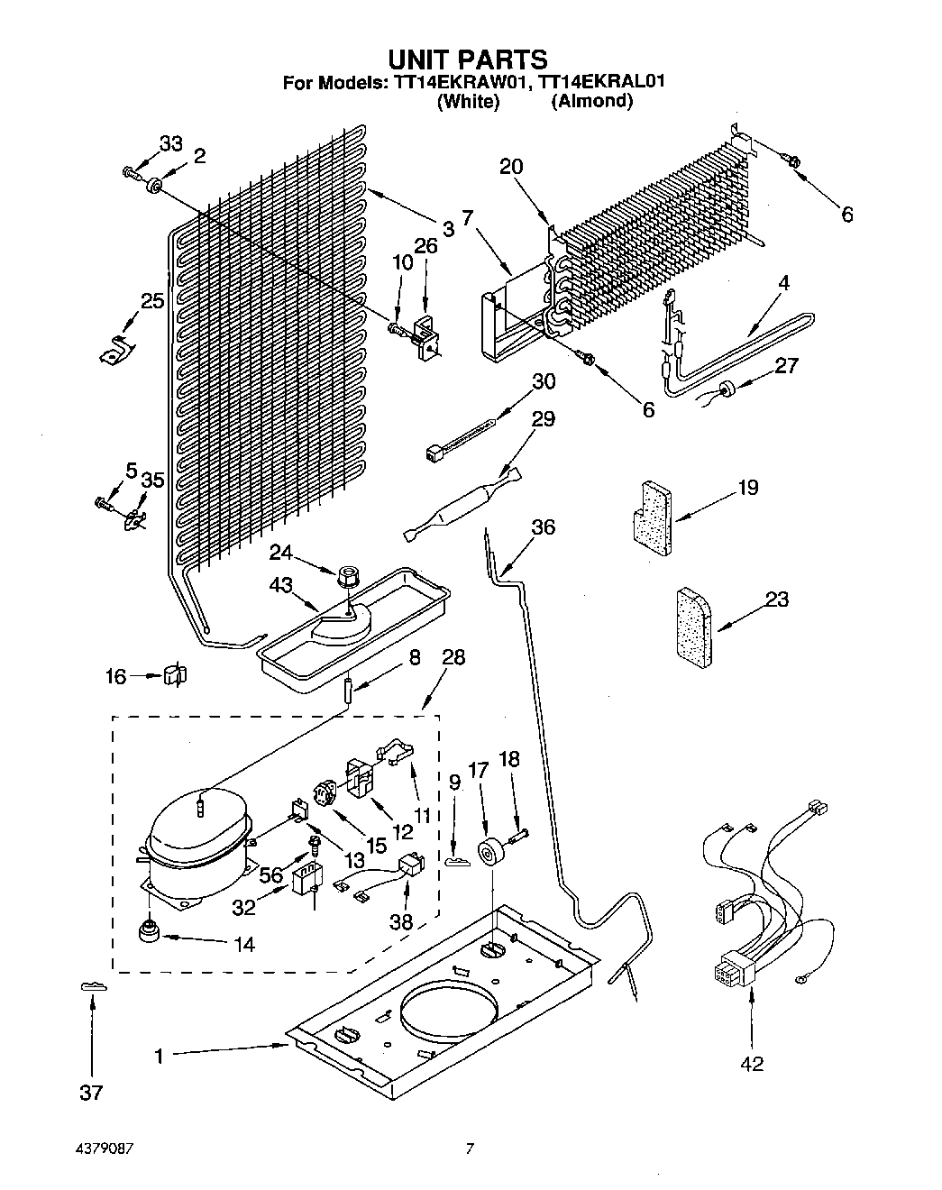
TT14EKRAN01 04 – UNIT