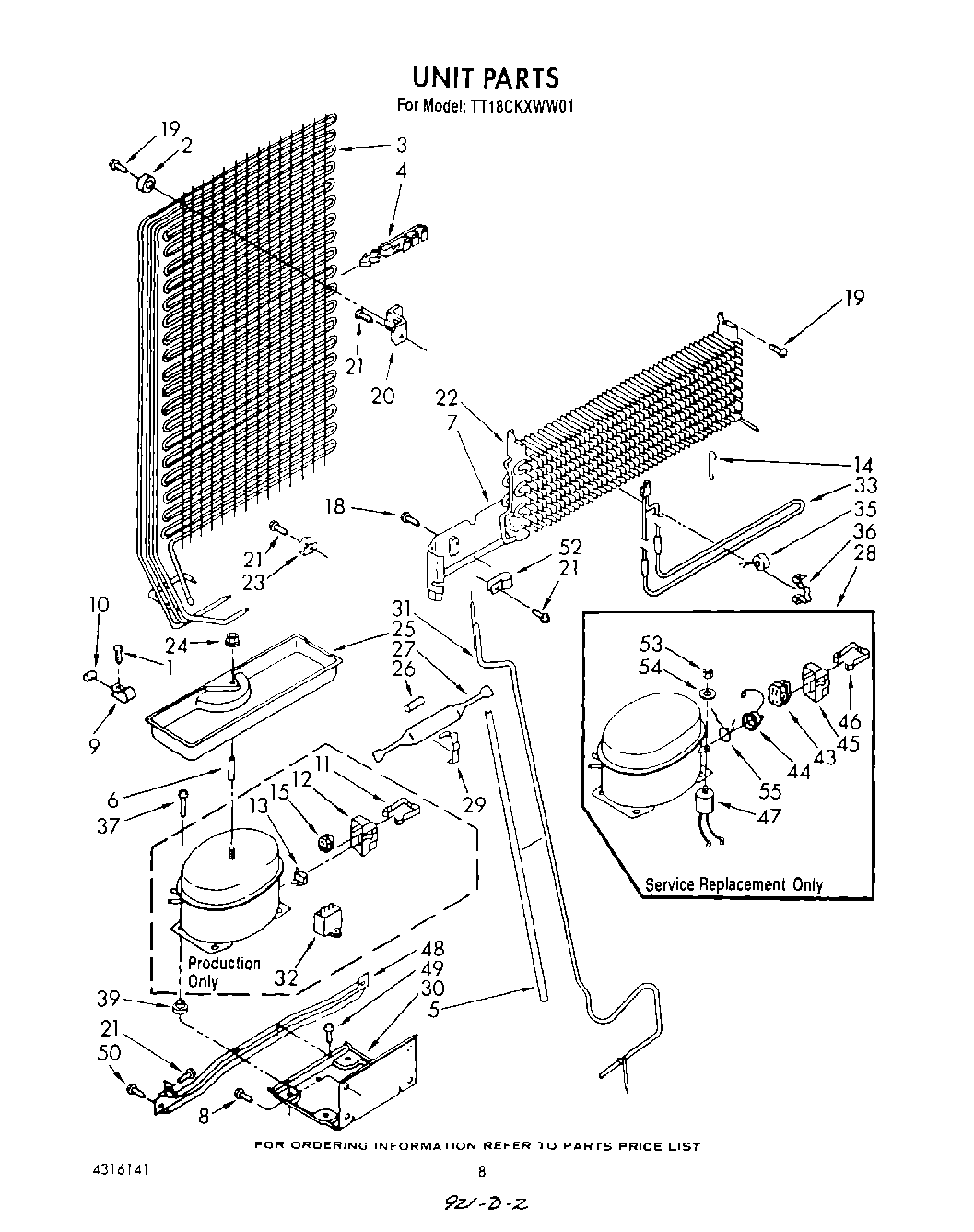
TT18CKXWN01 07 – UNIT