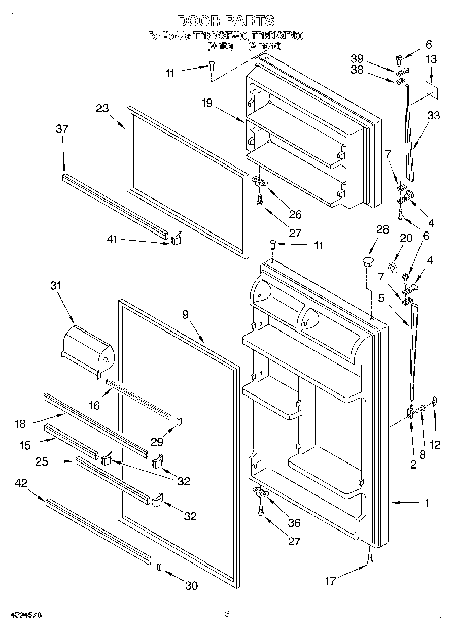
TT18DKXFW00 02 – DOOR