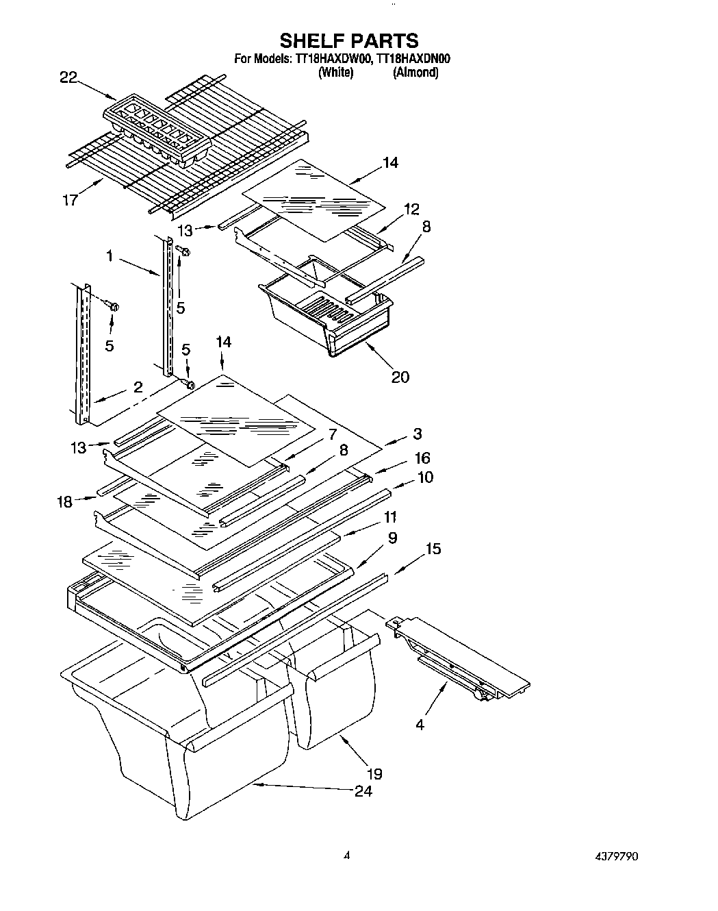
TT18HAXDW00 03 – SHELF