TT18TKRMS03 04 – UNIT PARTS

TT18TKRMS03 04 – UNIT PARTS

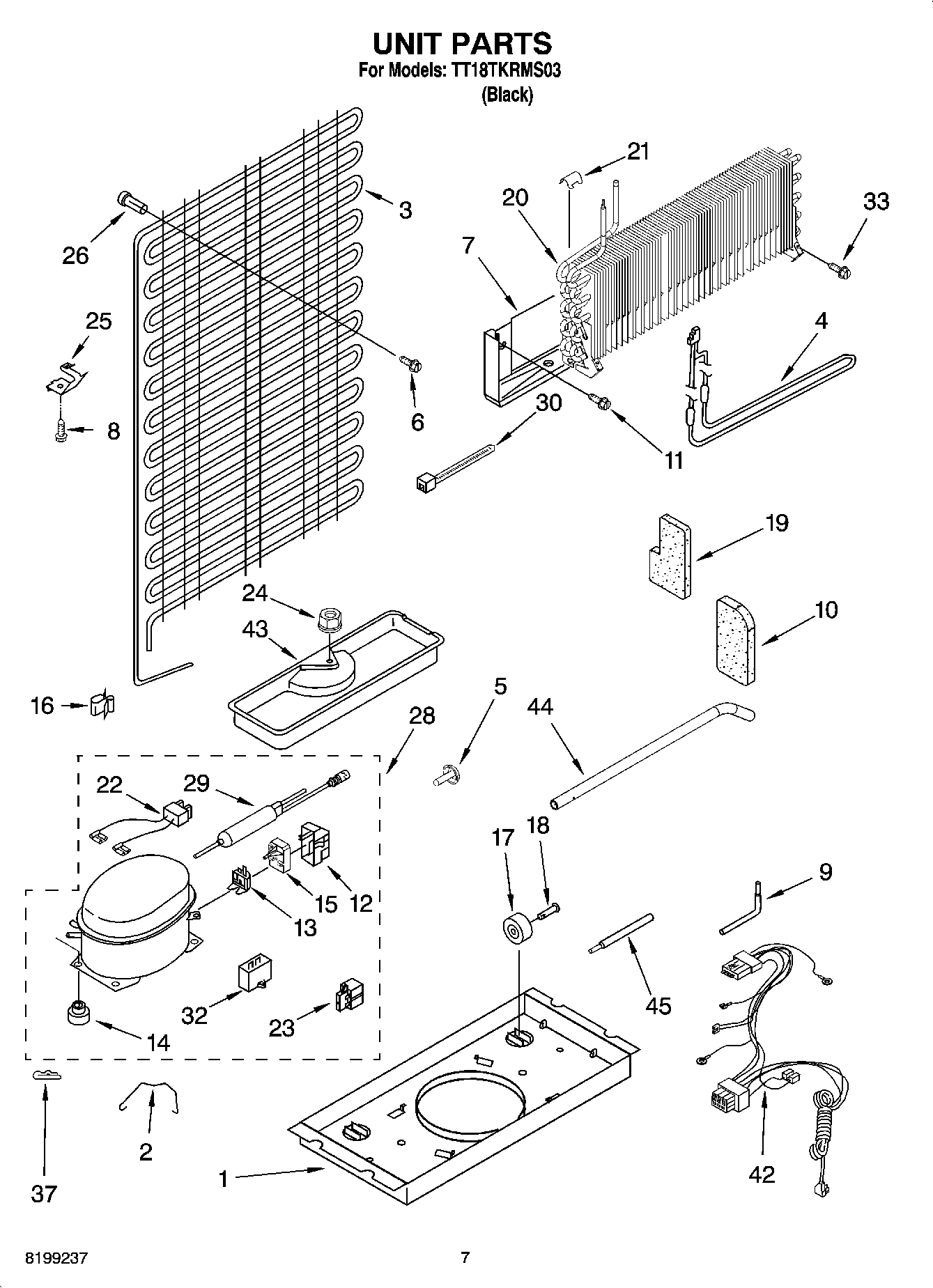
Products

PositionProduct
1WPW10222451 Whirlpool Refrigerator Support
22212996 Whirlpool Refrigerator Retainer
3WPW10219349 Whirlpool Refrigerator Condenser
4WP2263749 Whirlpool Defrost Heater Assembly
5Snap Rivet
6Screw
7Heat Shield
82256637 Whirlpool Refrigerator Screw
9W11676464 Whirlpool Tube
11WP489497 Whirlpool Screw
12WP2162358 Whirlpool Refrigerator Terminal Cover
13WP2214067 Whirlpool Refrigerator Overload Relay
14WP4387558 Whirlpool Refrigerator Compressor Grommet
14WPW10169124 Whirlpool Refrigerator Grommet
15WP2225929 Whirlpool Refrigerator Start Device
16W10812038 Whirlpool Refrigerator Clip
17WPW10475495 Whirlpool Roller Assembly
18W11594405 Whirlpool Axle
198201619 Whirlpool Refrigerator Support Assembly
20WP2263920 Whirlpool Refrigerator Evaporator
219791833 Whirlpool Refrigerator Clip
22WP2172890 Whirlpool Refrigerator Wire
23W10920279 Whirlpool Refrigerator Start Relay
24285002 Whirlpool Nut
254386951 Whirlpool Refrigerator Clip
262258452 Whirlpool Refrigerator Spacer
28Compressor (Includes Items 12,13,14,22,29, 32 & 34) (Also Order 482801 Installation Kit & 876765 Tube Kit)
29W10843121 Whirlpool Refrigerator Tube
30WPW10339879 Whirlpool Wire Tie
32WPW10662129 Whirlpool Refrigerator Run Capacitor
33SCREW
37Clip, Compressor
422258529 Whirlpool Refrigerator Wire Harness
43Tray, Evaporator
442264423 Whirlpool Tube
45W11661102 Whirlpool Tube
45Following Parts Not Illustrated and Optional Parts Not Included
45876764 Whirlpool Refrigerator Primary Valve
45978026 Whirlpool Refrigerator Primary Valve
45978030 Whirlpool Refrigerator Valve
45978027 Whirlpool Refrigerator Primary Valve
45WP978025 Whirlpool Refrigerator Valve
45VALVE, ACCESS (1/2``)
45VALVE, ACCESS (5/8``)
45REFRIGERANT CHARGE 3.75 Ozs