TT20BKXXG01 06 – UNIT

TT20BKXXG01 06 – UNIT

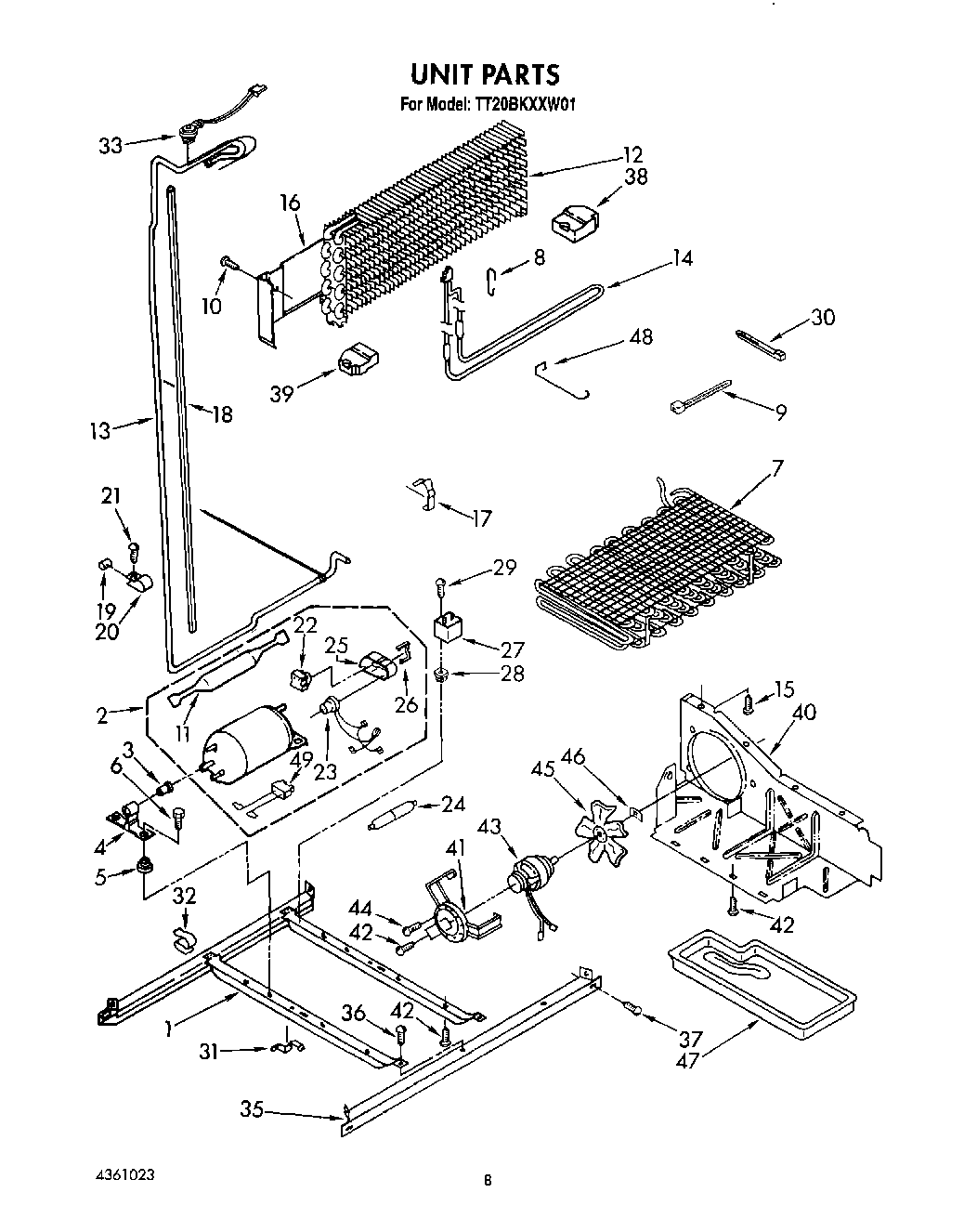
Products

PositionProduct
1Unit, Frame
2Compressor Kit (Includes Items 11, 22, 23, 25, 26, 27) (Service Compressor May Look Different Than O
3Grommet, Compressor Bracket
4Bracket, Mounting
5876811 Whirlpool Grommet
5Grommet, Compressor (4)
6Screw (4)
7Condenser Assembly
8Support, Heater
9Clip, Strap
10WP965173 Whirlpool Dishwasher Screw
11W10843121 Whirlpool Refrigerator Tube
12Evaporator
13Heat, Exchanger
14Heater, Defrost
16Heat Shield Evaporator
17Clamp, Dryer
18WP2002171 Whirlpool Refrigerator Sleeve
19Dampener (2)
20Clamp Tube
21WPW10141625 Whirlpool Refrigerator Screw Assembly
22Relay (See Overload)
23Overload
23OVERLOAD
24Muffler
25Cover
25Terminal Cover
26Strap
26Strap, Cover
27WPW10662129 Whirlpool Refrigerator Run Capacitor
27Running Capacitor (Service)
28Screw Grommet
29WP489478 Whirlpool Refrigerator Screw
30Strap
31Clip (2)
32Clip, Wire (2)
33WP4387503 Whirlpool Refrigerator Bimetal Defrost Thermostat
35Unit Mounting Rail
36WP489427 Whirlpool Refrigerator Screw
37489340 Whirlpool Refrigerator Screw
38Support (R.S.)
39Support (L.S.)
40Air, Baffle
41Bracket, Motor
42Screw, 8 x 3/8
43833697 Whirlpool Condenser Fan Motor
44681390 Whirlpool Refrigerator Screw
45Fan, Blade
46WP486692 Whirlpool Refrigerator Nut
47WPW10614158 Whirlpool Refrigerator Evaporator Tray
481105612 Whirlpool Fan Guard
49VALVE, ACCESS (5/8``)
49876764 Whirlpool Refrigerator Primary Valve
49978027 Whirlpool Refrigerator Primary Valve
49978026 Whirlpool Refrigerator Primary Valve
49VALVE, ACCESS (1/2``)
49978030 Whirlpool Refrigerator Valve
49WP978025 Whirlpool Refrigerator Valve
49WP2172890 Whirlpool Refrigerator Wire