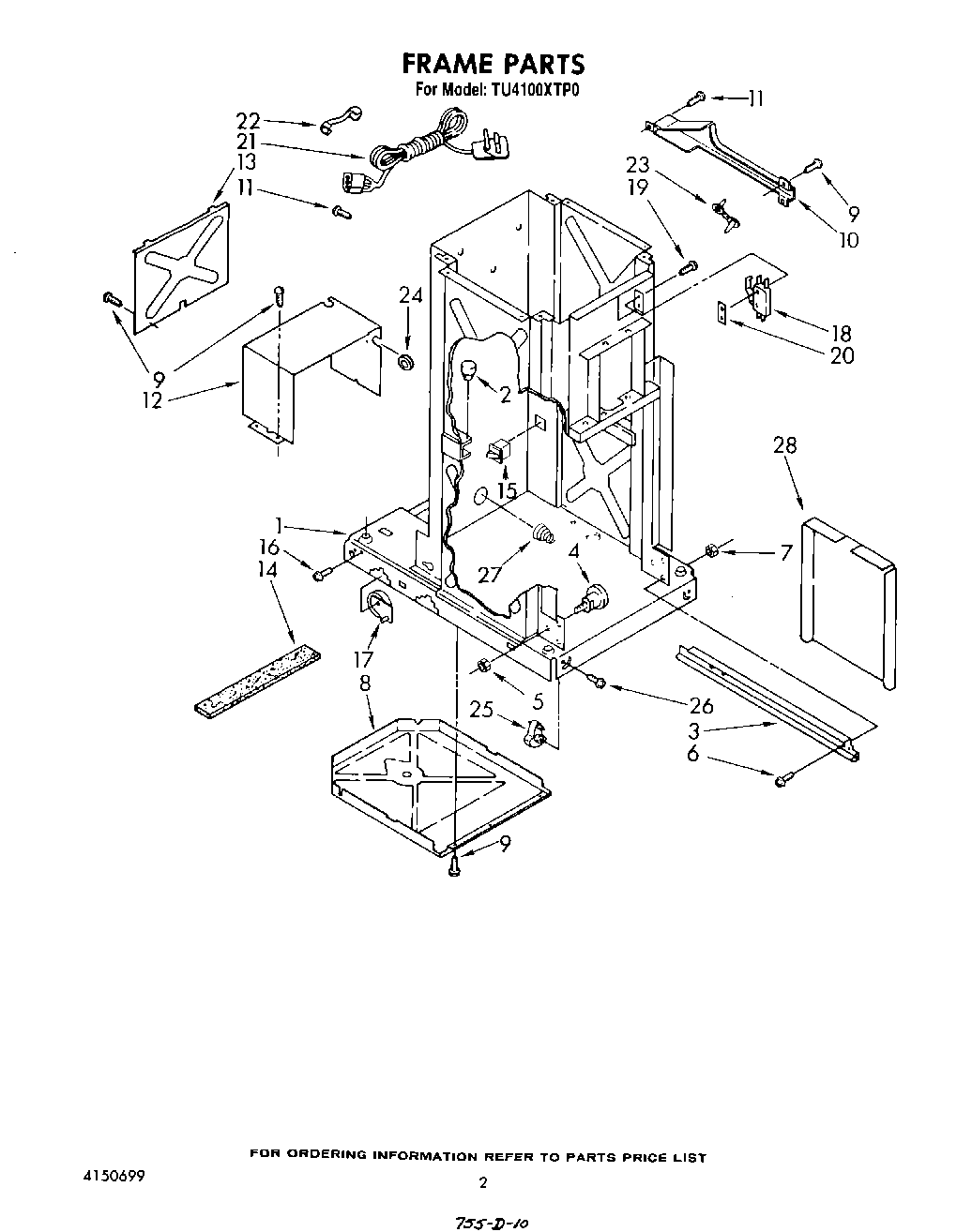
TU4100XTP0 02 – FRAME