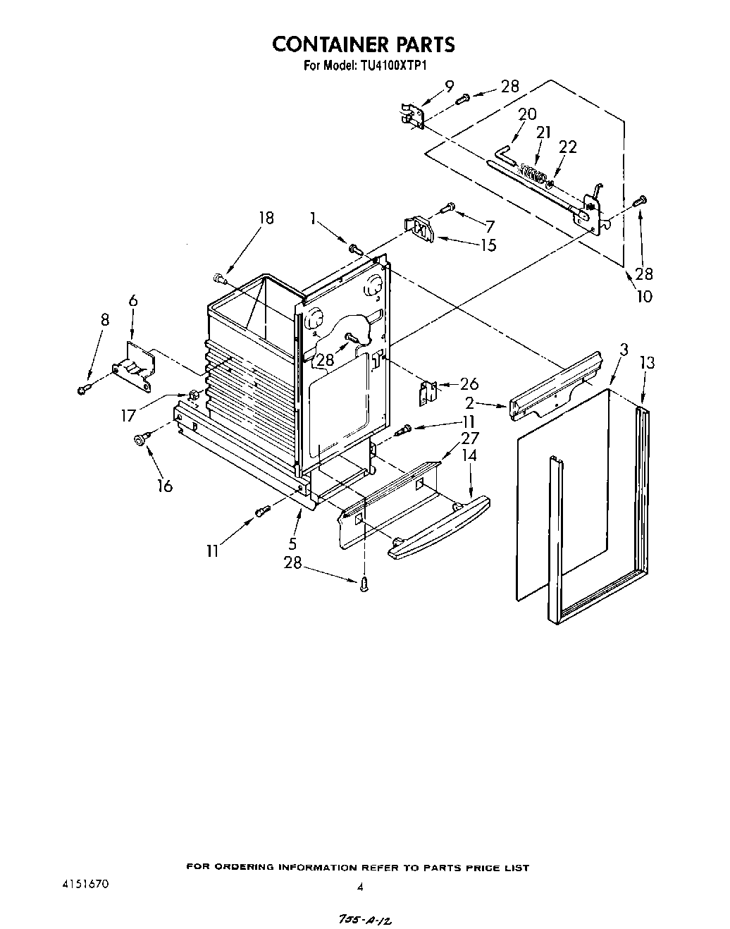
TU4100XTP1 04 – CONTAINERadmin2025-04-26T13:01:33+00:00TU4100XTP1 04 – CONTAINER ProductsPositionProduct2WP608732 Whirlpool Compactor Handle3Panel, Container Front (Almond & Black)5Container Assembly6Cam, Spray Actuator (2)7Screw (2)9WP776395 Whirlpool Compactor Guide10675379 Whirlpool Compactor Drawer Latch11WP780263 Whirlpool Compactor Screw13Trim, Container (Front)14882657 Whirlpool Compactor Foot Pedal159871125 Whirlpool Compactor Actuator16WP9871602 Whirlpool Compactor Bearing17WP776356 Whirlpool Compactor Nut18Bumper, Container (2)20Pin21775736 Whirlpool Compactor Spring22Ring, ``E``26775665 Whirlpool Compactor Plate Latch27WP777328 Whirlpool Compactor Guard28WP489069 Whirlpool Compactor Screw