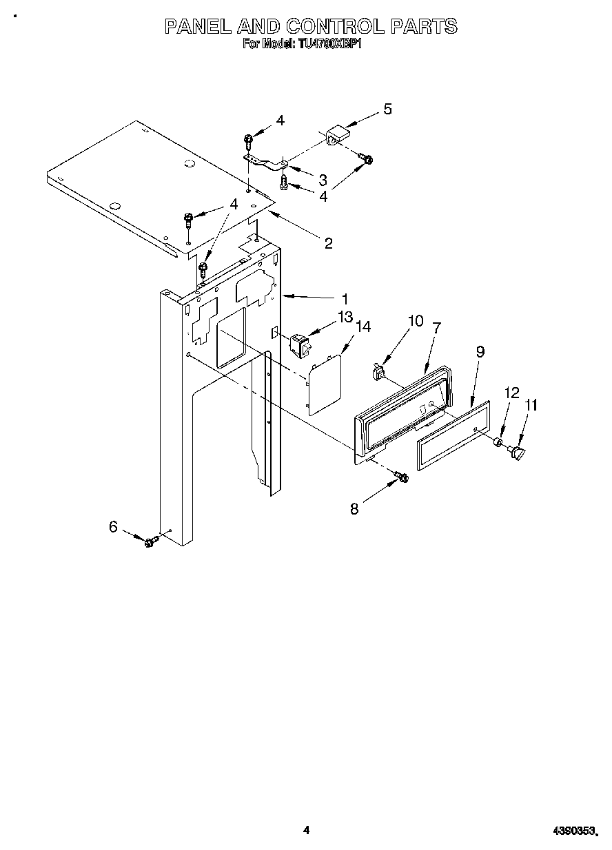
TU4700XBP1 04 – PANEL AND CONTROL