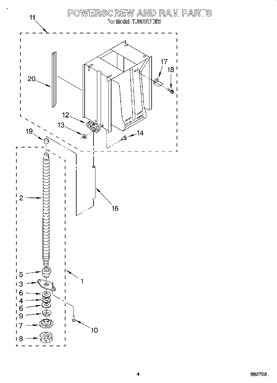
TU800SPDB2 04 – POWERSCREW AND RAMadmin2025-04-26T12:58:31+00:00TU800SPDB2 04 – POWERSCREW AND RAM ProductsPositionProduct1WPW10451272 Whirlpool Trash Compactor Power Screw2Screw, Power (Available Only As Complete Assembly)3779121 Whirlpool Compactor Plate4W10917043 Whirlpool Compactor Bearing5776941 Whirlpool Compactor Power Crew Hub6775481 Whirlpool Compactor Bearing7SPROCKET84154842 Whirlpool Compactor Nut9WP777332 Whirlpool Compactor Washer10WP8204624 Whirlpool Bolt11W11696573 Whirlpool Ram12WP9870163 Whirlpool Compactor Trunnion Nut13WP90296 Whirlpool Clip14882694 Whirlpool Compactor Stud16WP9870037 Whirlpool Ram Stop17Bracket, Top Limit Switch18WP3351614 Whirlpool Screw19WP9870775 Whirlpool Compactor Power Screw Cap20W10917246 Whirlpool Compactor RAM Slide