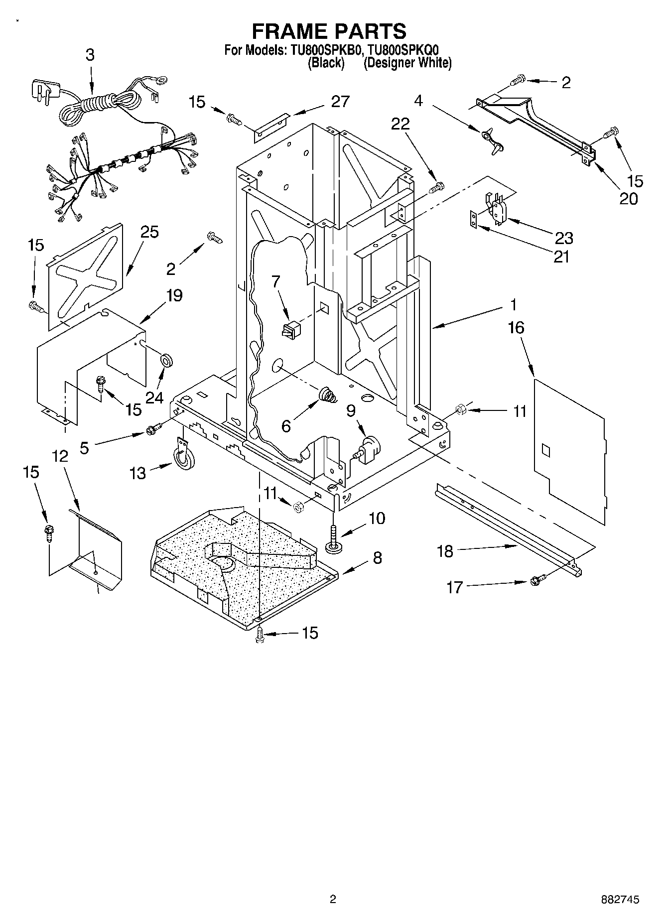
TU800SPKB0 02 – FRAME