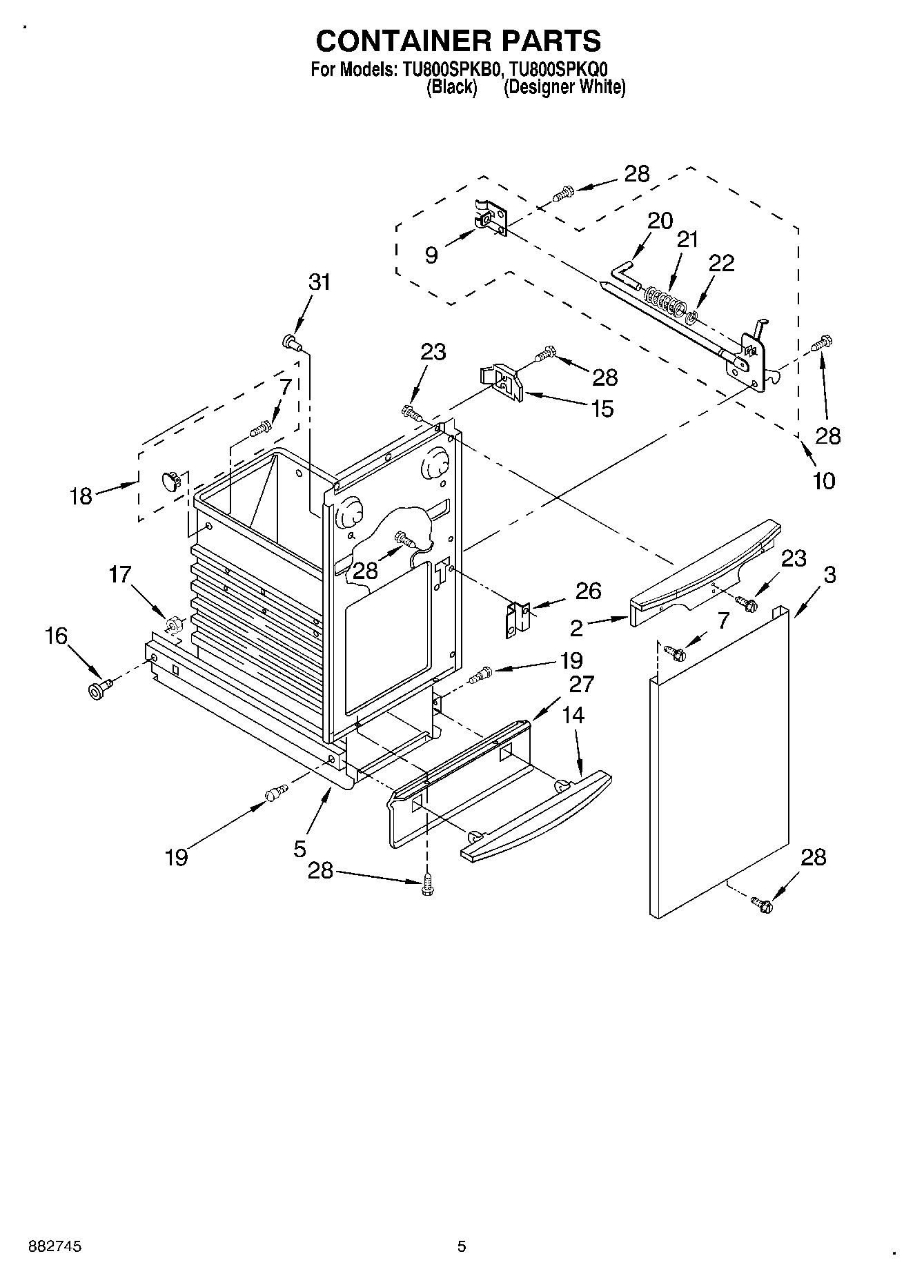
TU800SPKQ0 05 – CONTAINERadmin2025-04-26T12:59:31+00:00TU800SPKQ0 05 – CONTAINER ProductsPositionProduct2HANDLE3WP9871309 Whirlpool Compactor Panel3WP9871311 Whirlpool Compactor Panel5Container Assembly7WP3196175 Whirlpool Screw9WP776395 Whirlpool Compactor Guide10675379 Whirlpool Compactor Drawer Latch14W11679165 Whirlpool Foot Pedal14WP9871031 Whirlpool Compactor Foot Pedal159871125 Whirlpool Compactor Actuator16WP9871602 Whirlpool Compactor Bearing17WP776356 Whirlpool Compactor Nut18RETAINER, BAG19WP780263 Whirlpool Compactor Screw20Pin21775736 Whirlpool Compactor Spring22Ring, ``E``23WP3400888 Whirlpool Compactor Screw26775665 Whirlpool Compactor Plate Latch27W10917704 Whirlpool Compactor Guard27WP777328 Whirlpool Compactor Guard28WP489478 Whirlpool Refrigerator Screw31Bumper, Container (2)