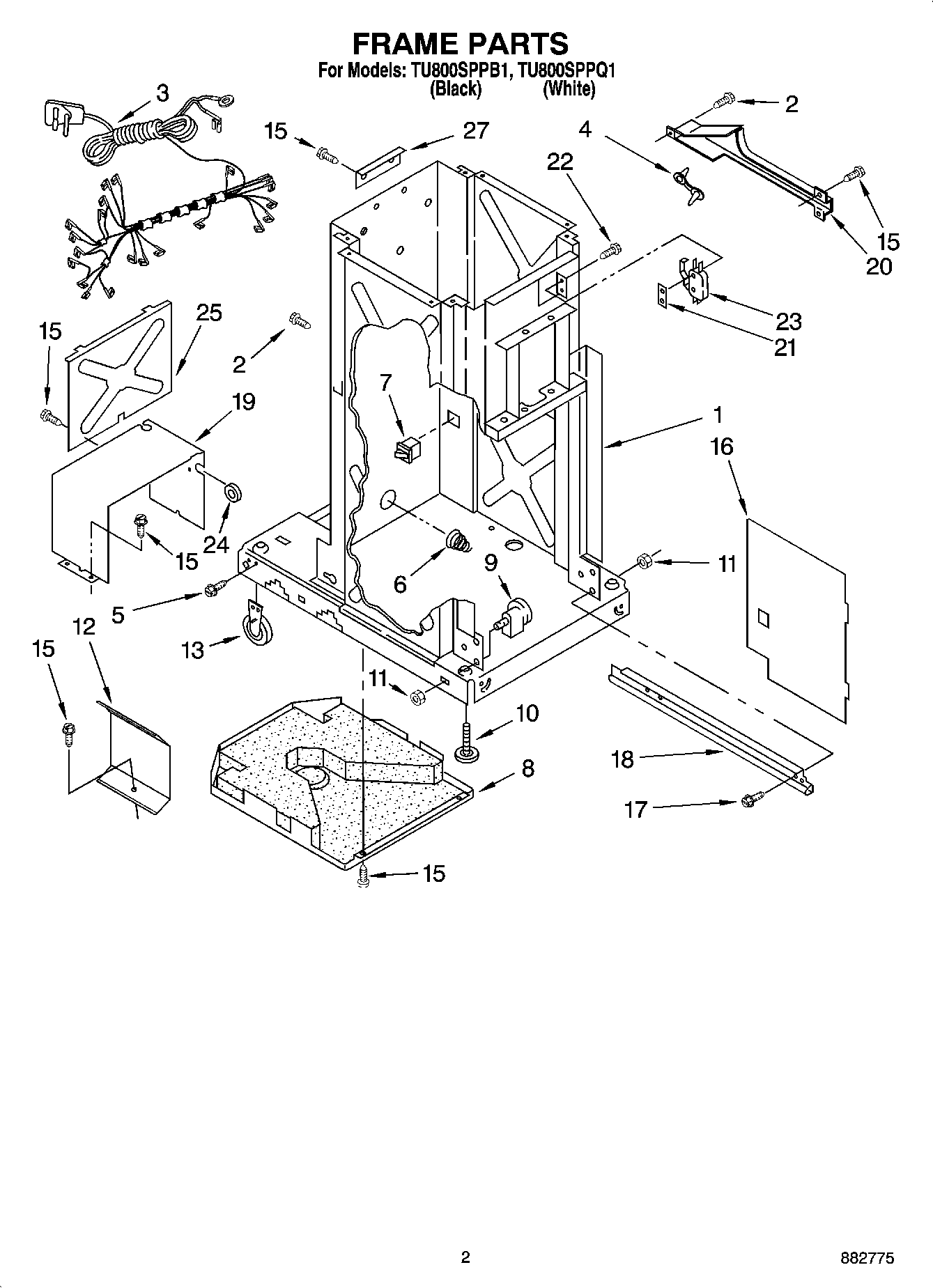
TU800SPPB1 02 – FRAME PARTSadmin2025-04-26T12:59:50+00:00TU800SPPB1 02 – FRAME PARTS ProductsPositionProduct1Frame (Not a Serviceable Part)2WP488234 Whirlpool Air Conditioner Screw39872113 Whirlpool Wire Harness4Clamp, Wire5WP3351614 Whirlpool Screw6WP777180 Whirlpool Compactor Spring7WP4387911 Whirlpool Refrigerator Switch8WP780437 Whirlpool Compactor Bottom Pan9882688 Whirlpool Compactor Bearing10WPW10001130 Whirlpool Leveling Leg11WP776356 Whirlpool Compactor Nut129870867 Whirlpool Shield13W11023674 Whirlpool Compactor Leveling Wheel15WP489478 Whirlpool Refrigerator Screw16WP9870444 Whirlpool Compactor Inner Panel17WP486754 Whirlpool Compactor Screw18WP9870975 Whirlpool Compactor Slide18SLIDE19780434 Whirlpool Motor Cover204149659 Whirlpool Shield Assembly21Plate, Nut22WP489399 Whirlpool Refrigerator Screw23WP777811 Whirlpool Compactor Directional Switch24Grommet, Motor Cover25Plate, Motor Cover27Angle, Top Bracket