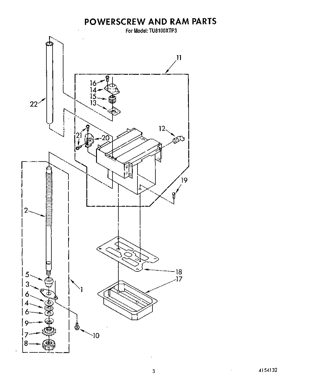
TU8100XTP3 03 – POWERSCREW AND RAM