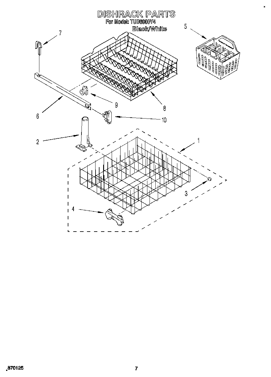
TUD3000Y4 06 – DISHRACK