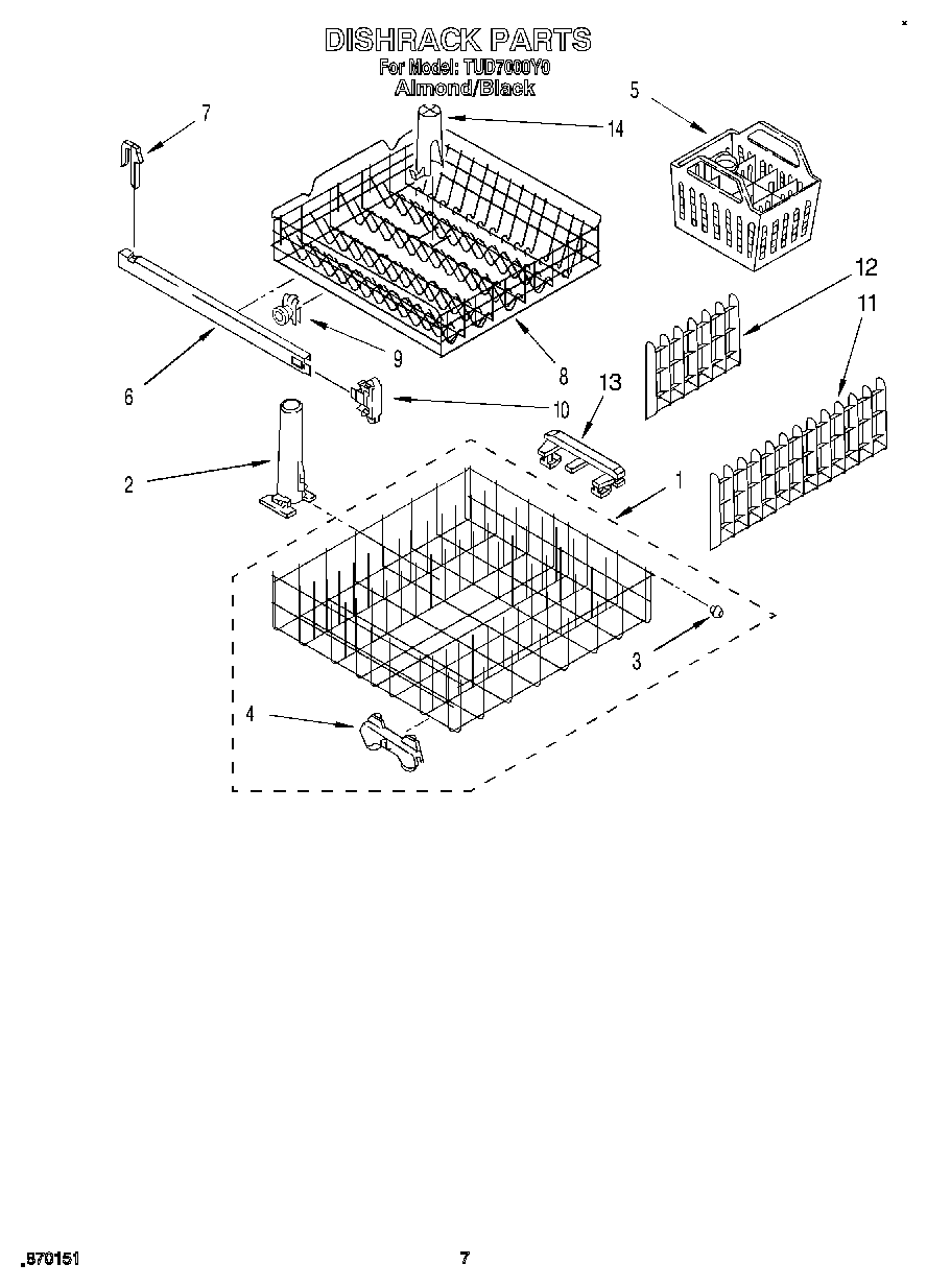
TUD7000Y0 06 – DISHRACK, LIT/OPTIONALadmin2025-04-26T10:59:56+00:00TUD7000Y0 06 – DISHRACK, LIT/OPTIONAL ProductsPositionProductWiring DiagramW10840471 Whirlpool Dishwasher Touch UpSide Panel Kit (White)Side Panel Kit: (Almond)DOOR SPRING KIT: (HEAVY DUTY)Tine Tip Repair Kit (Blue - Enough For Two Complete Dishracks)Do-It Yourself ManualInstructions, Installation (Supplement) (Locating Your Water Supply)Instructions, InstallationToastAvocadoGoldPlatinumWPL LIT3373749Energy Guide676458 Whirlpool Dishwasher Tine Tip675679 Whirlpool Dishwasher White Tip Tines350956 Whirlpool Spray AssemblyLeveler (Thinner)WP72107 Whirlpool Touchup72017 Whirlpool Appliance Touch-Up Paint White350942 Whirlpool Spray Paint285006 Whirlpool Spray72032 Whirlpool Touch Up Paint BlackWP676453 Whirlpool Dishwasher Touch-UpWP676455 Whirlpool Dishwasher Touch-UpAlmond (Uncut)Enamel, Black (1 Qt. Uncut)1W10311986 Whirlpool Dishwasher Lower Rack2WP8268825 Whirlpool Dishwasher Protector3WP3385142 Whirlpool Dishwasher Bumper4WP3376961 Whirlpool Dishwasher Wheel58519598 Whirlpool Silverware Basket6Track, Rack7Stop, Track (2)8W11169039 Whirlpool Dishwasher Dish Rack9Wheel & Axle Assembly (4)10Endcap, Front or Rear (2)11Cupshelf, Large (2)12WP8268828 Whirlpool Dishwasher Shelf138268826 Whirlpool Dishwasher Cup Holder14Diffuser, Water