| *22081 | WCI G176210 |
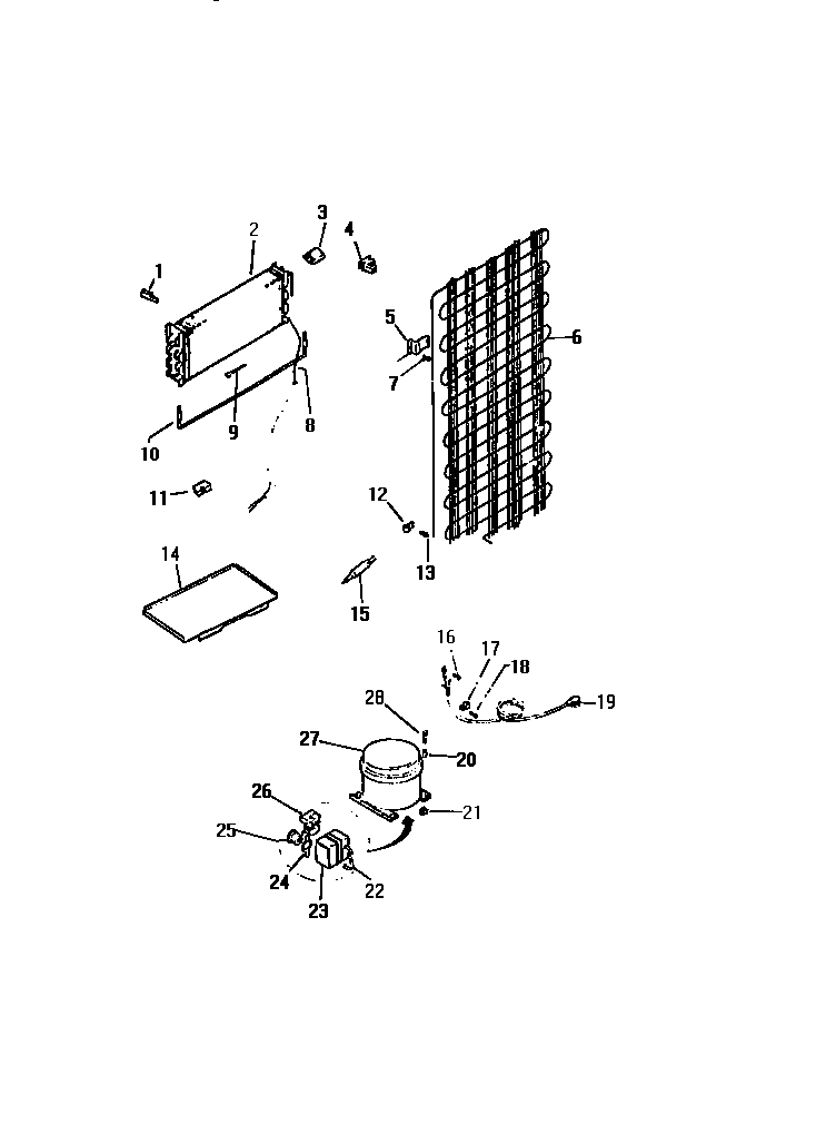
| 1 | PLUG - EVAP. INS. L.H. |
| 2 | EVAPORATOR |
| 3 | 5303917954 Frigidaire Refrigerator Defrost Limit Thermostat Kit |
| 4 | WCI G163099 |
| 5 | BRACKET, COND. MTG (4) |
| 6 | WCI G183612 |
| 8 | WCI G176594 |
| 9 | 5308000110 Frigidaire Refrigerator Evaporator/Heater Primary Strap |
| 10 | 5317842502 Frigidaire Defrost Heater |
| 11 | BLOCK, EVAPORATOR, LH |
| 14 | DEFROST PLATE (NON-ILLUSTRATED) |
| 15 | 5303305677 Frigidaire Replacement Filter Dryer Filters |
| 16 | 5308000039 Frigidaire Refrigerator Screw |
| 17 | 5303001199 Frigidaire Refrigerator Wiring Harness Clamp |
| 18 | 5304455651 Frigidaire Refrigerator Screw |
| 19 | CORD, SERVICE |
| 20 | SLEEVE COMP MTG (3) |
| 21 | 218513300 Frigidaire Refrigerator Compressor Mount Grommet |
| 22 | 5303006412 Frigidaire Refrigerator Cover Mounting Strap |
| 24 | CLIP, OVERLOAD |
| 25 | WCI G166052 |
| 26 | RELAY (NON-ILLUSTRATED) |
| 27 | WCI G183613 |
| 28 | SCREW - 1/4-20 (3) COMP. MTG. |