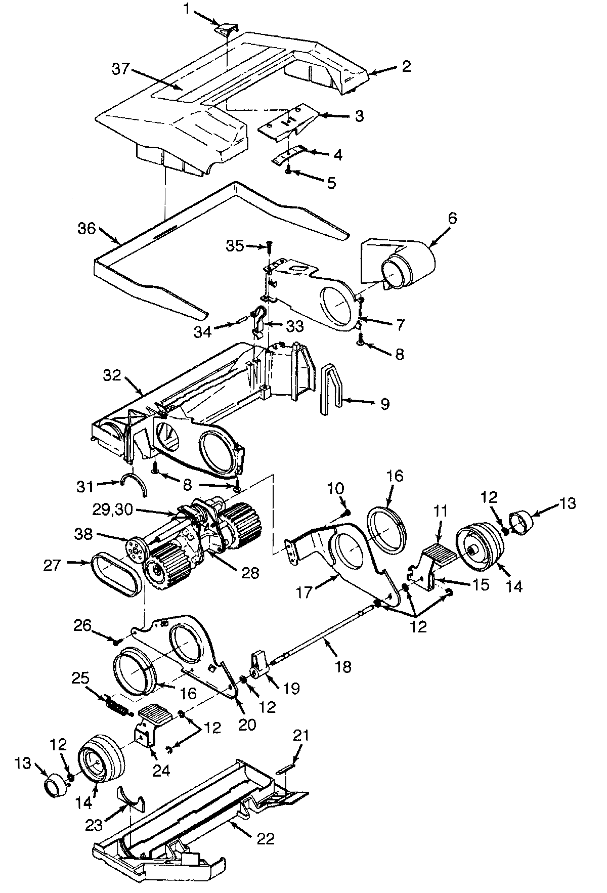
U3101— 04 – MAINBODY, HOODadmin2025-04-26T08:51:42+00:00U3101— 04 – MAINBODY, HOOD ProductsPositionProduct1MAY 364210281MAY 384210381MAY 384210361MAY 384210291MAY 384210271MAY 384210261MAY 384210232MAY 372531332MAY 372532392MAY 372531142MAY 372530373MAY 385630184MAY 347510025MAY 214472036MAY 386560237MAY 354760278MAY 214470149MAY 3412300311MAY 3842603011MAY 3842602812MAY 013730--13MAY 169242--13MAY 3791201314MAY 3852201814MAY 3852203215MAY 3613101815MAY 4313101915MAY 3845205916MAY 3215500417MAY 4196700418MAY 3254700219MAY 3845204820MAY 3547601221MAY 3412201922MAY 4224503922MAY 3724508723MAY 3878100624MAY 3845207125MAY 161513--25MAY 3833501426MAY 016295--27MAY 160147AG28MAY 4312400929MAY 163699--30MAY 3114201431MAY 012173--32MAY 4224606433MAY 3478800134MAY 3152201635MAY 2144700336MAY 3623502836MAY 3623508236MAY 3623502037MAY 5211511337MAY 5211515337MAY 5211514637MAY 5211511737MAY 5183100137MAY 5211511638MAY 3853700139MAY 5651104139MAY 5651126739MAY 5821900739MAY 5651124739MAY 5836604450MAY 2131277750MAY 160031--