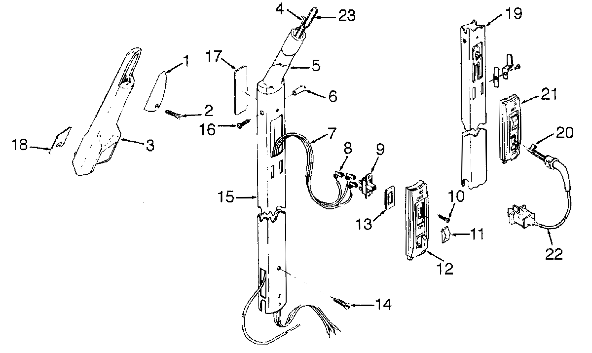
U3105930 03 – HANDLE