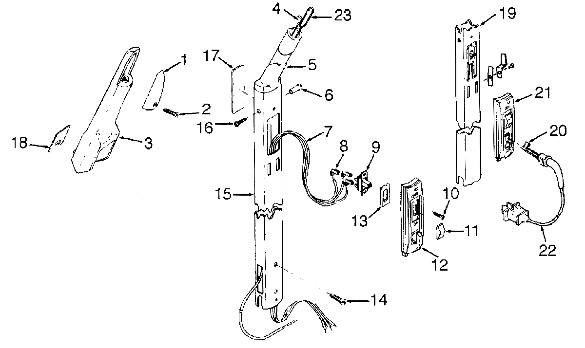
U3109— 03 – HANDLEadmin2025-04-26T08:52:12+00:00U3109— 03 – HANDLE ProductsPositionProduct1MAY 160092HR1MAY 160092AG1MAY 160092LT1MAY 160092KH1MAY 160092LU1MAY 372580442MAY 215750013MAY 486630194MAY 432110105MAY 369570066MAY 322580107MAY 463120147MAY 465140019MAY 281770KD9MAY 281770239MAY 2817902210MAY 2146531411MAY 3842101212MAY 3725806813MAY 3413800614MAY 2156300115MAY 4864104815MAY 4864105216MAY 018805--17MAY 5163902317MAY 5163903317MAY 5163905717MAY 5163906518MAY 5163801818MAY 5163804118MAY 5163801318MAY 5163801018MAY 5163802419MAY 4864311019MAY 4864311519MAY 4864314720MAY 2766670221MAY 3725811222MAY 4636319523MAY 160095AY