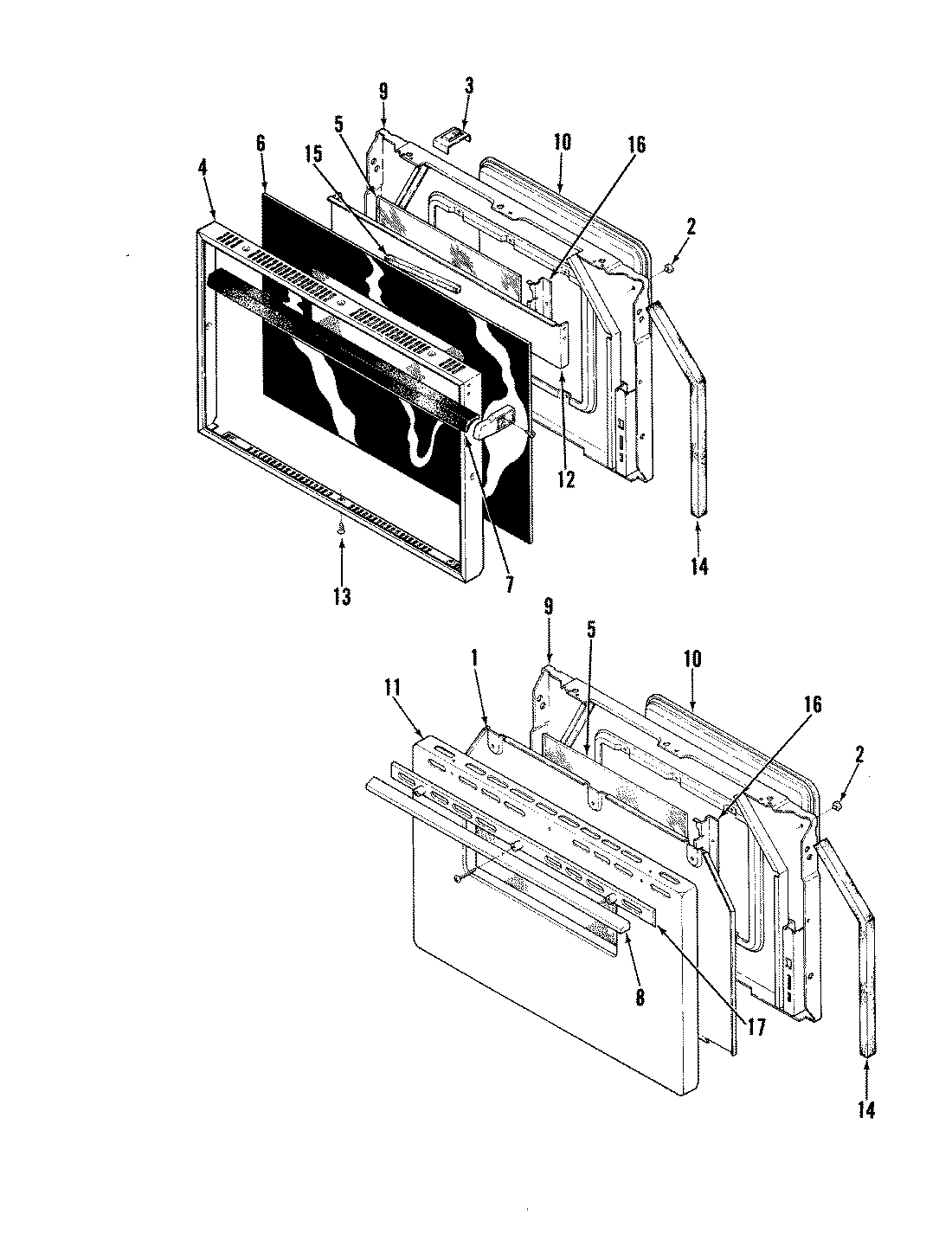
U34GN-4TKXW 03 – DOOR