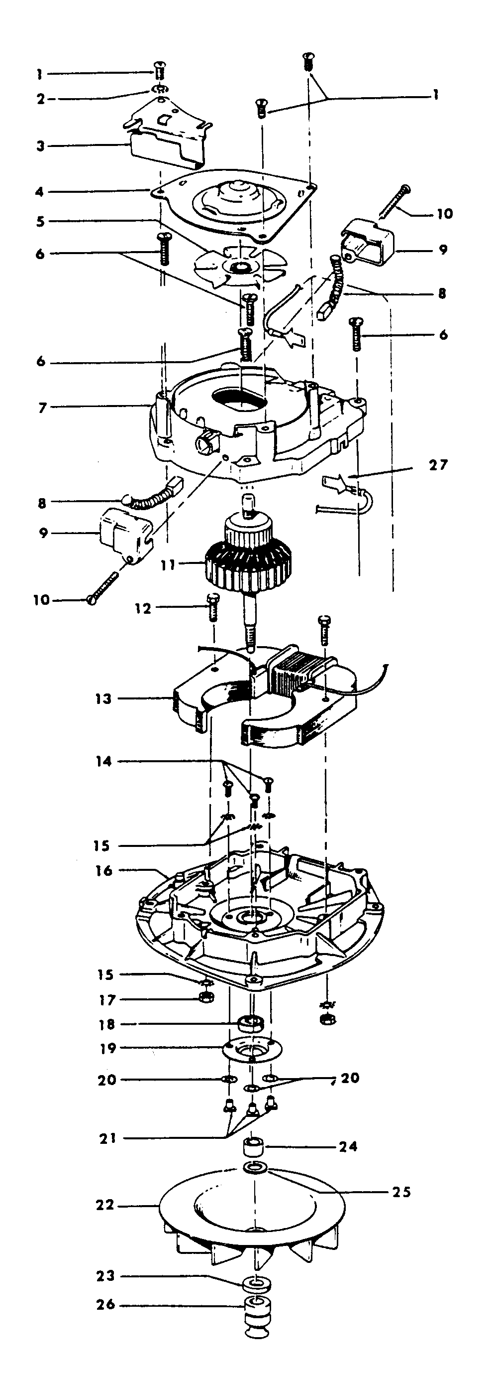
U4083001 03 – MOTOR ASSEMBLY