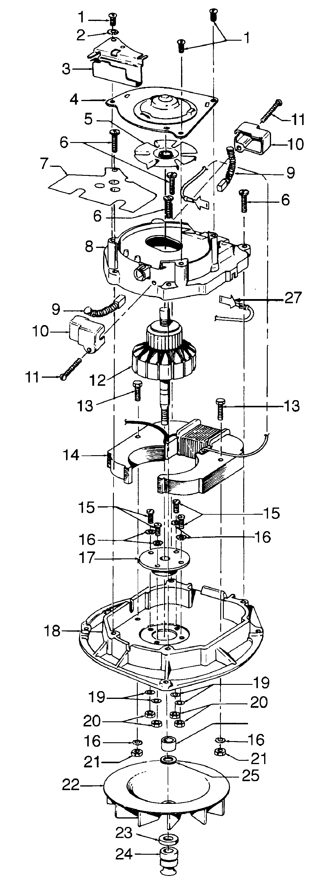
U4107— 04 – MOTOR ASSEMBLYadmin2025-04-26T08:51:15+00:00U4107— 04 – MOTOR ASSEMBLY ProductsPositionProduct1MAY 45533AY3MAY 419610094MAY 429340025MAY 387550046MAY 161535--7MAY 164684--8MAY 019857--9MAY 4731801210MAY 3631500311MAY 046930AZ12MAY 4476508513MAY 045118--14MAY 4541201415MAY 2177250116MAY 014062-17MAY 019829--18MAY 4219300619MAY 019772-20MAY 045251--21MAY 015673--22MAY 3875501123MAY 3116200424MAY 3853200925MAY 169241AW26MAY 163059--27MAY 014320--27MAY 4357414027MAY 4357414128MAY 4030001428MAY 35276006