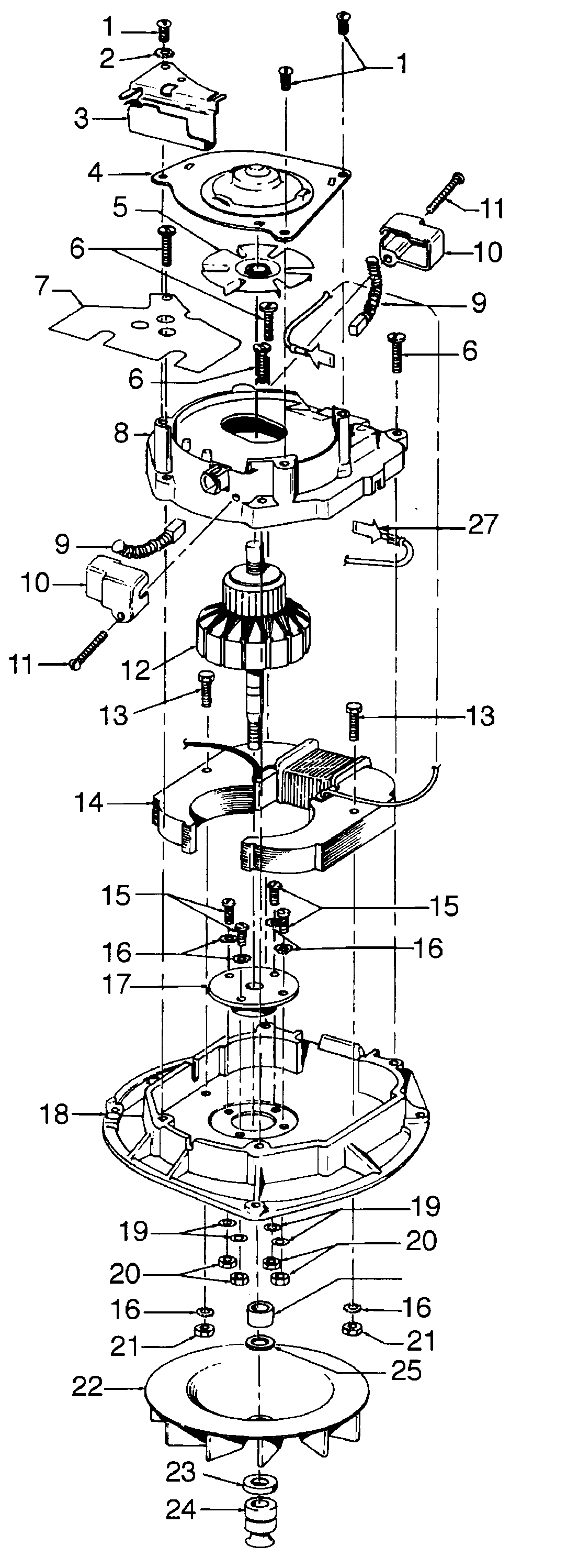
U4129— 05 – MOTOR ASSEMBLYadmin2025-04-26T08:51:09+00:00U4129— 05 – MOTOR ASSEMBLY ProductsPositionProduct1MAY 45533AY3NOT REQUIRED PART OR SEE NOTE FUSE (NOT REQUIRED)4MAY 429340025MAY 387550046MAY 161535--7MAY 164684--7MAY 045517--8MAY 019857--9MAY 4731801210MAY 3631500311MAY 046930AZ12MAY 4476508513MAY 045118--14MAY 4541201414MAY 4541201515MAY 2177250116MAY 014062-17MAY 019829--18MAY 4219300619MAY 019772-20MAY 045251--21MAY 015673--22MAY 3875501123MAY 3116200424MAY 3853200925MAY 169241AW26MAY 163059--27MAY 4357413327MAY 014320--27MAY 4357416127MAY 4357414027MAY 4357404528MAY 2772550628MAY 2731730728MAY 3691200428MAY 2731310128MAY 4030001428MAY 017001--28MAY 017016--