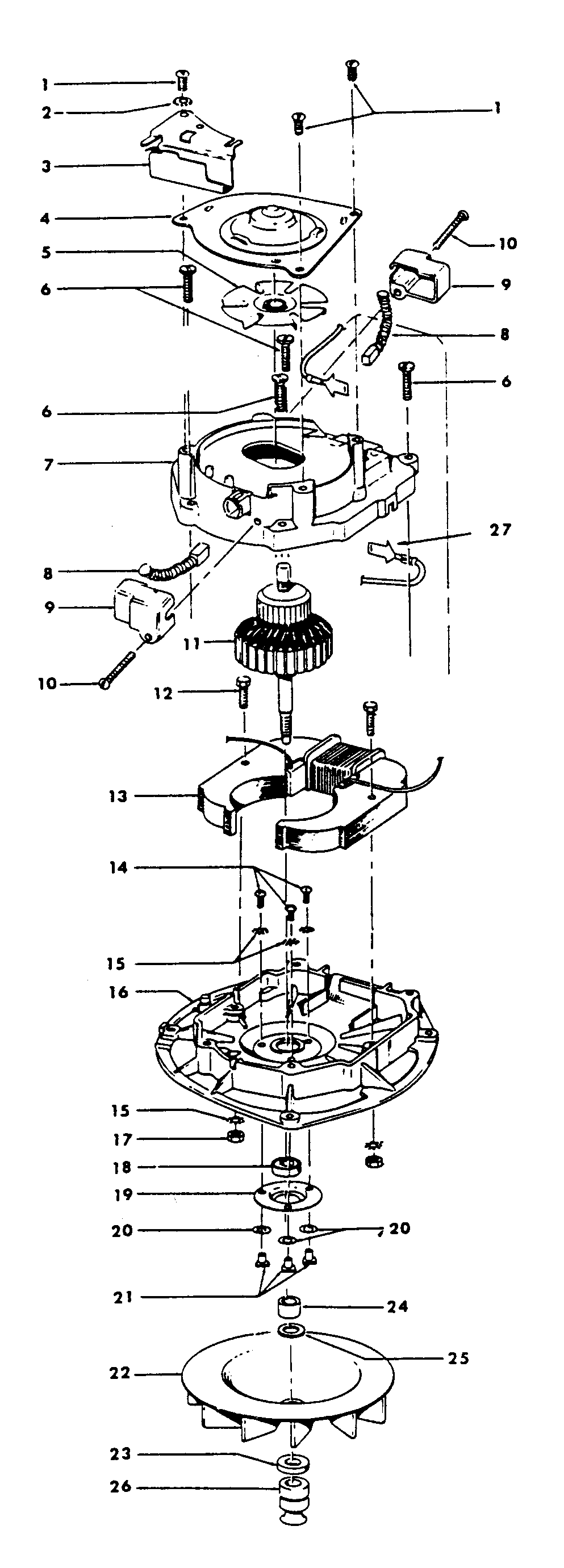
U4141001 03 – MOTOR ASSEMBLYadmin2025-04-26T08:51:13+00:00U4141001 03 – MOTOR ASSEMBLY ProductsPositionProduct1MAY 45533AY3MAY 419610084MAY 429340025MAY 387550046MAY 161535--7MAY 035111--8MAY 473180129MAY 14322AG-9MAY 3631500310NOT REQUIRED PART OR SEE NOTE FUSE (NOT REQUIRED)11MAY 4476508612MAY 045118--13MAY 4541200313MAY 4541202813MAY 4541300214MAY 044779--16MAY 049186--16MAY 4219202417MAY 015673--18MAY 2415280718MAY 1928919MAY 3218400320MAY 014062-20MAY 091099--21MAY 045251--22MAY 3875501123MAY 3116200424MAY 163059--24MAY 3173100224MAY 3173100625MAY 166563--26MAY 3853200990MAY 4357414090MAY 4030902290MAY 43574161996MAY 35276006996MAY 40300014