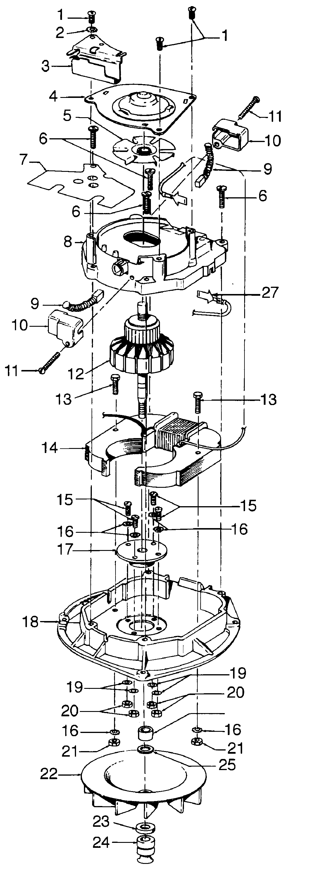
U4187— 05 – MOTOR ASSEMBLY