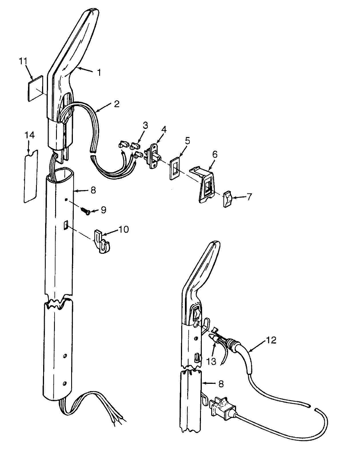
U4201— 03 – HANDLEadmin2025-04-26T08:51:01+00:00U4201— 03 – HANDLE ProductsPositionProduct1MAY 486631091MAY 486631191MAY 394540602MAY 465140023MAY 276667024MAY 281790224MAY 281790135MAY 341380066MAY 372580157MAY 384210128MAY 486310248MAY 486311428MAY 486310679MAY 166735EF10MAY 3944200510MAY 3944202110MAY 3944202011MAY 5163902211MAY 5166300312MAY 4636324213MAY 012227--14MAY 51638029