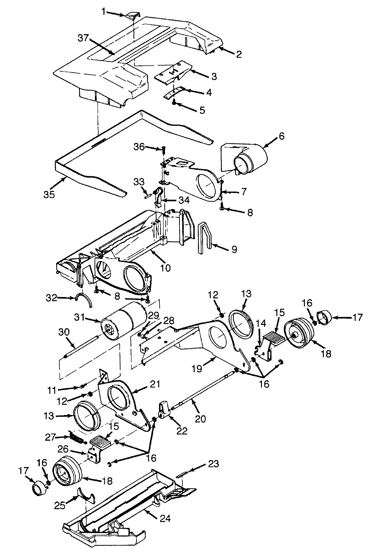
U4201— 04 – MAINBODY, HOODadmin2025-04-26T08:51:22+00:00U4201— 04 – MAINBODY, HOOD ProductsPositionProduct1MAY 384210231MAY 384210271MAY 384210261MAY 384210371MAY 364210282MAY 372530372MAY 372532392MAY 372531652MAY 372531143MAY 385630184MAY 347510025MAY 214472036MAY 386560237MAY 354760278MAY 214470149MAY 3412300310MAY 4224606411MAY 165432--12MAY 01330613MAY 3215500414MAY 3613101814MAY 3845205915MAY 3842602415MAY 3842603016MAY 3791201316MAY 169242--16MAY 013730--18MAY 3852203218MAY 3852201819MAY 4143101420MAY 3254700221MAY 3547600722MAY 3845204823MAY 3412201924MAY 3724508724MAY 4224503925MAY 3878100626MAY 3845207127MAY 161513--27MAY 3833501428MAY 3114201429MAY 163699--30MAY 3254100131MAY 3852200832MAY 012173--33MAY 3152201634MAY 3478800135MAY 3623508235MAY 3623502035MAY 3623502836MAY 2144700337MAY 5211511337MAY 5211512338MAY 5834301038MAY 5821900738MAY 5651126738MAY 5651126238MAY 5651104138MAY 2131277738MAY 58351003