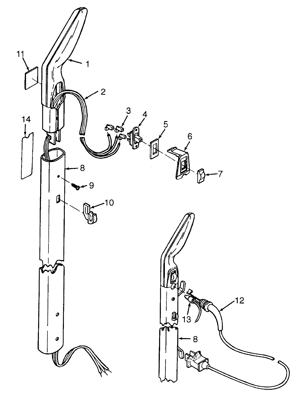
U4203— 03 – HANDLE