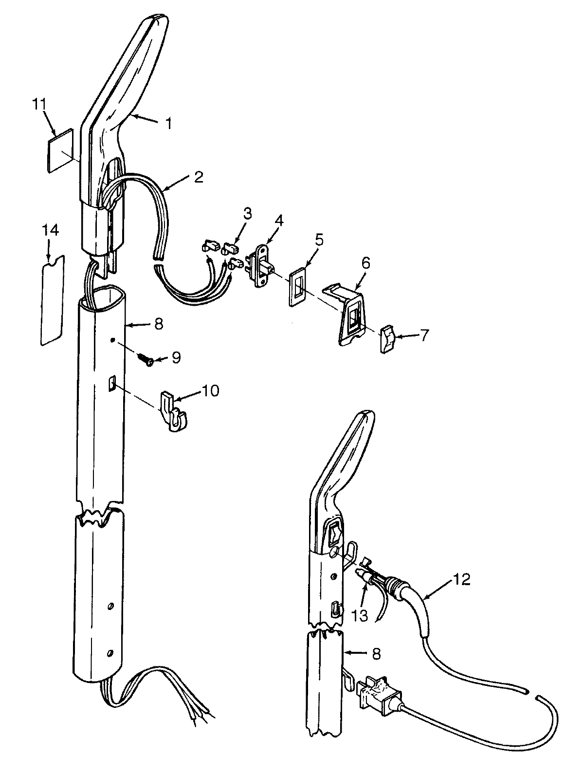
U4219— 03 – HANDLE