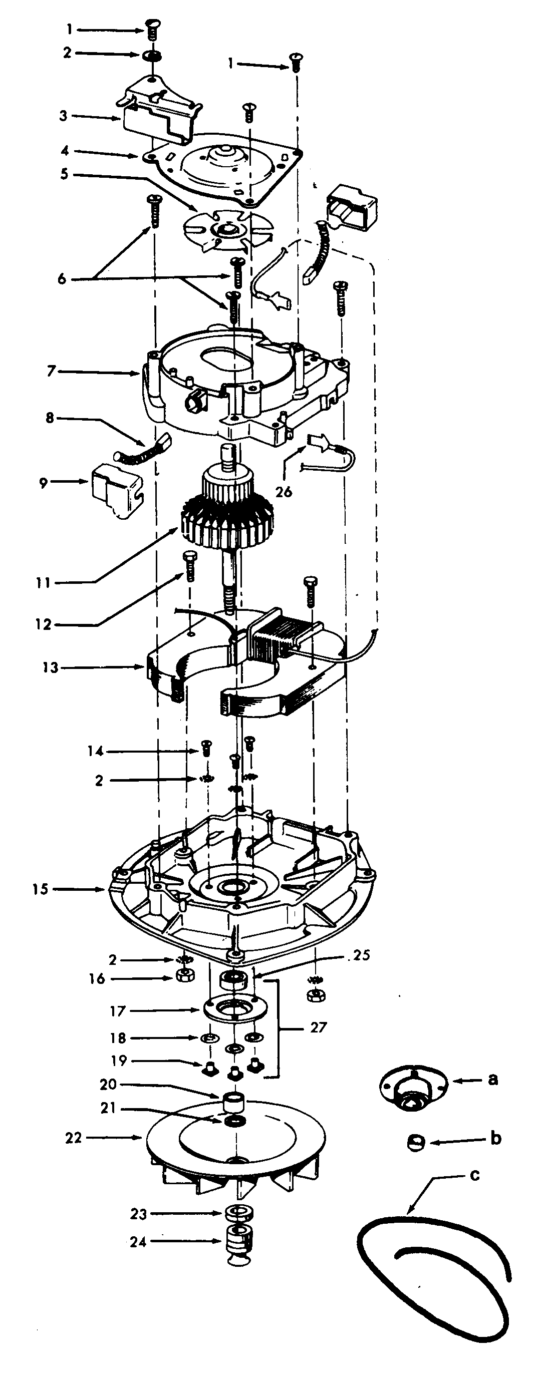
U4313— 05 – MOTOR ASSEMBLYadmin2025-04-26T08:51:05+00:00U4313— 05 – MOTOR ASSEMBLY ProductsPositionProductNIMAY 35276006NIMAY 403000141MAY 45533AY2MAY 014062-3MAY 419610094MAY 429340025MAY 387550046MAY 161535--7MAY 019857--8MAY 473180129MAY 3631500311MAY 4476508512MAY 045118--13MAY 4541201713MAY 4541201514MAY 2177250115MAY 4219300616MAY 015673--17MAY 3218400318MAY 019772-19MAY 045251--20MAY 3173100221MAY 166563--22MAY 3875501123MAY 3116200424MAY 3853200925MAY 2415280726MAY 014320--27MAY 047232--27MAY 019829--27MAY 4326700627MAY 163059--