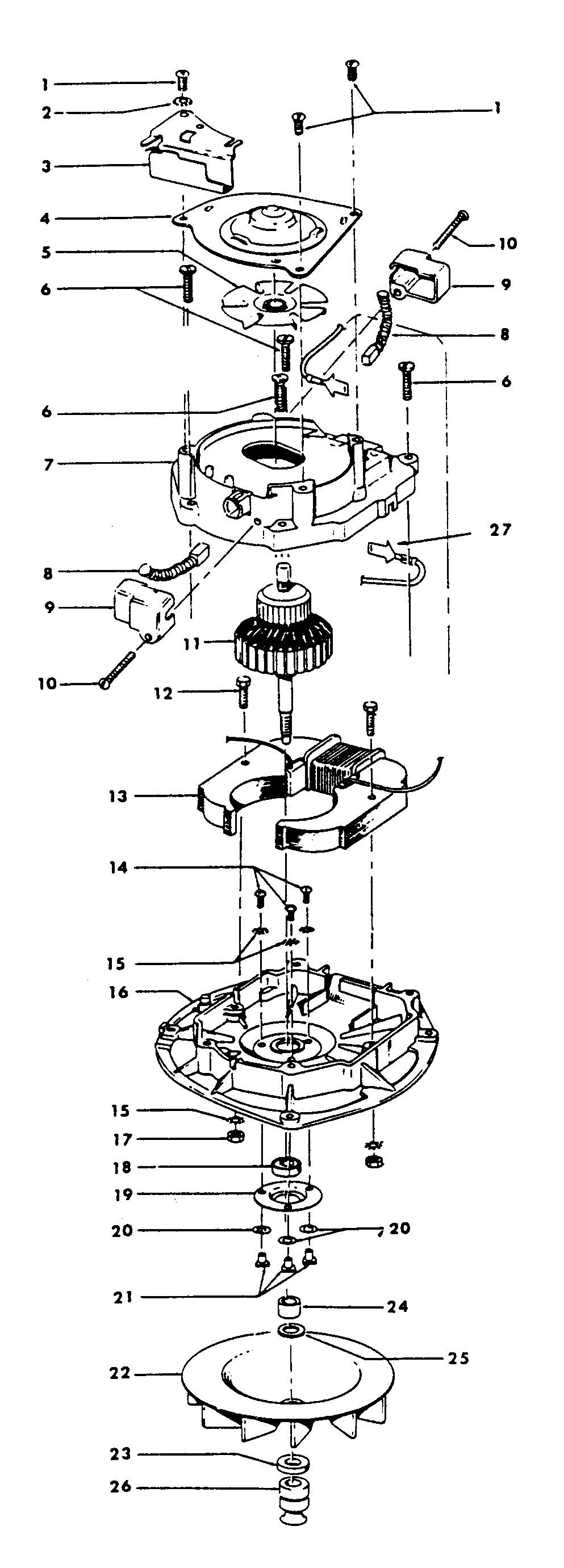
U4427 03 – MOTOR ASSEMBLYadmin2025-04-26T08:51:15+00:00U4427 03 – MOTOR ASSEMBLY ProductsPositionProductNIMAY 43574161NIMAY 35276006NIMAY 40300014NIMAY 43574140NIMAY 403090221MAY 45533AY3MAY 419610084MAY 429340025MAY 387550046MAY 161535--7MAY 035111--8MAY 473180129MAY 363150039MAY 14322AG-10NOT REQUIRED PART OR SEE NOTE FUSE (NOT REQUIRED)11MAY 4476508612MAY 045118--13MAY 4541300213MAY 4541202813MAY 4541200314MAY 044779--16MAY 049186--16MAY 4219202417MAY 015673--18MAY 2415280718MAY 1928919MAY 3218400320MAY 014062-20MAY 091099--21MAY 045251--22MAY 3875501123MAY 3116200424MAY 3173100624MAY 3173100224MAY 163059--25MAY 166563--26MAY 38532009