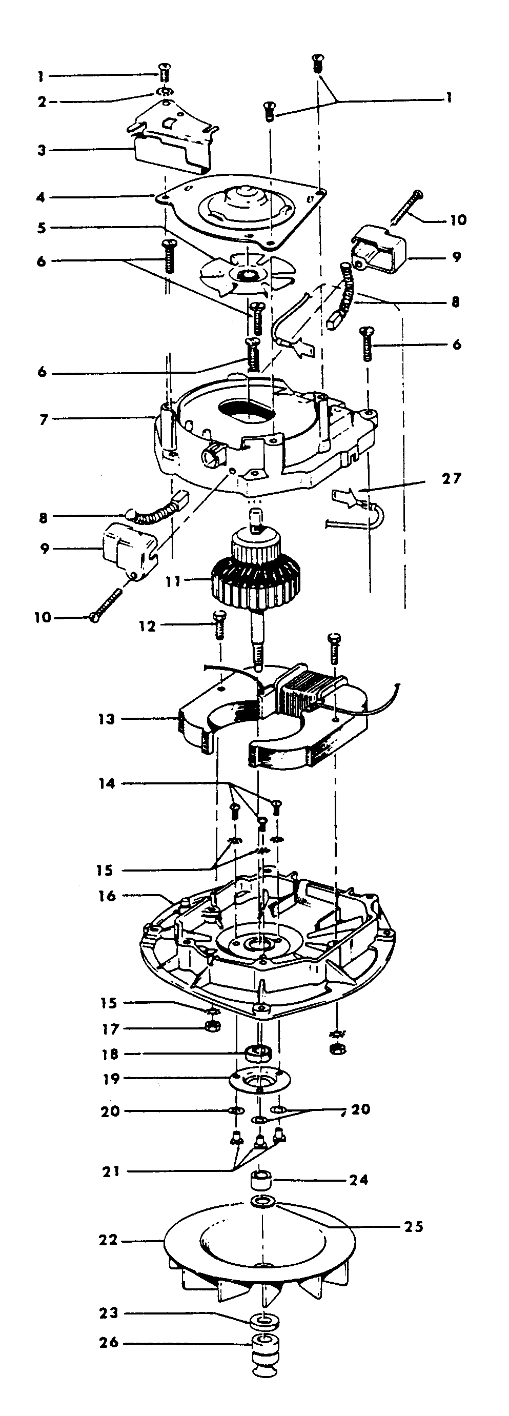
U4429 03 – MOTOR ASSEMBLY