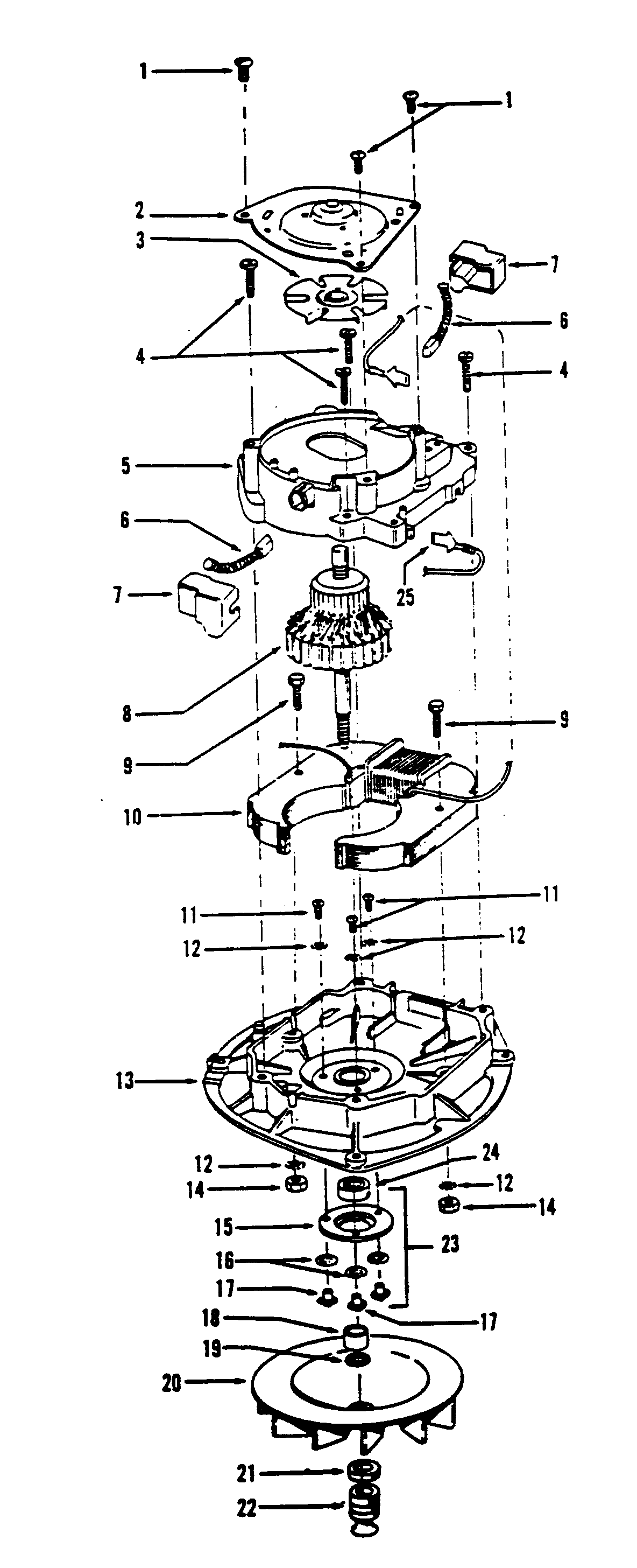
U4519— 05 – MOTOR ASSEMBLYadmin2025-04-26T08:52:05+00:00U4519— 05 – MOTOR ASSEMBLY ProductsPositionProductNIMAY 403000141MAY 45533AY2MAY 429340023MAY 387550044MAY 161535--5MAY 019857--6MAY 473180127MAY 363150038MAY 447650859MAY 045118--10MAY 4541201810MAY 4541201511MAY 2177250112MAY 014062-13MAY 4219300614MAY 015673--15MAY 3218400316MAY 019772-17MAY 045251--18MAY 3173100619MAY 166563--20MAY 3875501121MAY 3116200422MAY 3853200923MAY 4326700624MAY 2415280725MAY 014320--25MAY 4357416125MAY 43574133