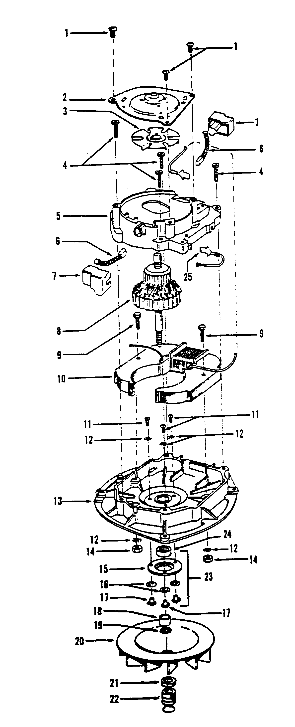
U4597— 05 – MOTOR ASSEMBLY