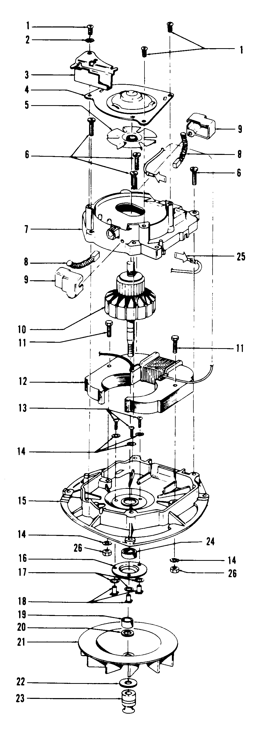
U4729900 04 – MOTOR ASSEMBLYadmin2025-04-26T08:52:13+00:00U4729900 04 – MOTOR ASSEMBLY ProductsPositionProduct1MAY 435741751MAY 45533AY3MAY 419610094MAY 429340025MAY 387550056MAY 161535--7MAY 421950038MAY 473180129MAY 3631500310MAY 4476508511MAY 045118--12MAY 4542102013MAY 2177250115MAY 4219300616MAY 3218400317MAY 014062-18MAY 045251--19MAY 3173100620MAY 166563--21MAY 3875501122MAY 3116200423MAY 3853201524MAY 2415280725MAY 014320--26MAY 3691200426MAY 4030001426MAY 3527600626MAY 015673--