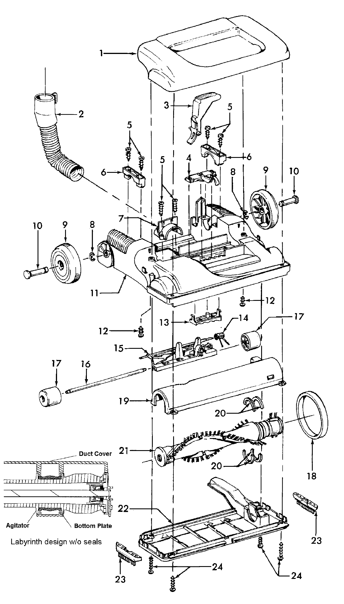
U5140900 01 – FOOT ASSEMBLYadmin2025-04-26T08:52:30+00:00U5140900 01 – FOOT ASSEMBLY ProductsPositionProductNIMAY 92001017NIMAY 38617027NIMAY 386140371MAY 920010622MAY 434310053MAY 384580435MAY 214470726MAY 361310947MAY 361710448MAY 160017--9MAY 3852207710MAY 3243400711MAY 9200106112MAY 2144722813MAY 4030900414MAY 3835501015MAY 3643202715MAY 9200102616MAY 3254100717MAY 3852100918MAY 3852803320MAY 3878105321MAY 4841411622MAY 4030902623MAY 3623508824MAY 21447121