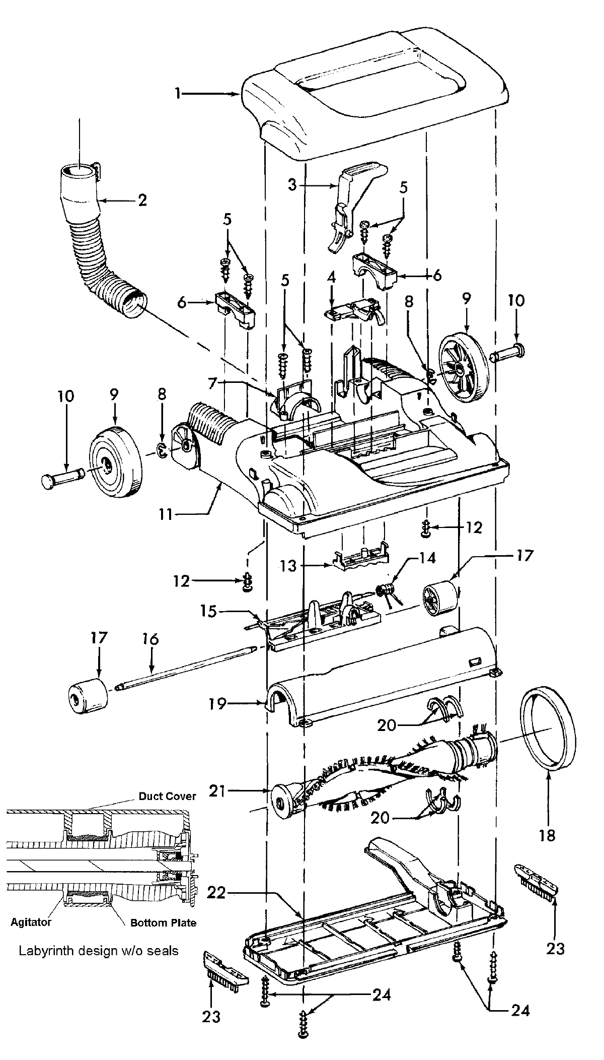
U5156900 01 – FOOT ASSEMBLYadmin2025-04-26T08:52:48+00:00U5156900 01 – FOOT ASSEMBLY ProductsPositionProductNIMAY 92001017NIMAY 38617027NIMAY 3861401E1MAY 920010372MAY 434310053MAY 384580435MAY 214470726MAY 361310947MAY 361710448MAY 160017--9MAY 3852207710MAY 3243401211MAY 9200103812MAY 2144722813MAY 4030900414MAY 3835501015MAY 9200102615MAY 3643202716MAY 3254100717MAY 3852100918MAY 3852803320MAY 3878105321MAY 4841411622MAY 4030902623MAY 3623508824MAY 21447121